授权公布号:CN215205702U
一种多列式多袋型柔性袋自动包装机
有效
申请
2020-12-29
申请公布
1970-01-01
授权
2021-12-17
预估到期
2030-12-29
| 申请号 | CN202023237629.8 |
| 申请日 | 2020-12-29 |
| 授权公布号 | CN215205702U |
| 授权公告日 | 2021-12-17 |
| 分类号 | B65B51/14;B65B61/06;B65B61/00 |
| 分类 | 输送;包装;贮存;搬运薄的或细丝状材料; |
| 申请人名称 | 江西维莱营健高科有限公司 |
| 申请人地址 | 江西省吉安市永丰县城北工业园 |
专利法律状态
2021-12-17
授权
状态信息
授权
摘要
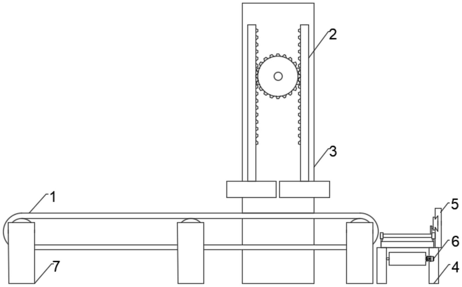
本实用新型涉及包装技术领域,具体涉及一种多列式多袋型柔性袋自动包装机,包括多个第一支撑板和多个第二支撑板。本实用新型克服了现有技术的不足,通过设置有热封剪切装置,在热封剪切装置的第一电机输出端固定连接齿轮,在齿轮两侧的连接杆下端分别螺纹连接热封口压板与剪切刀片,在连接杆侧面固定连接与齿轮对应的锯齿,连接杆侧面的滑杆与滑槽滑动连接,对包装袋进行缝合的同时可对膜边进行剪切,提高工作效率,通过设置有翻转装置,在翻转装置的第二支撑座侧面开设凹槽,第二电机输出端的螺纹杆与滑口侧壁转动连接,在螺纹杆上螺纹连接转动装置,转动装置与滑口和凹槽滑动连接,对包装带进行翻正,便于后续物料的装袋。


