授权公布号:CN216272114U
输送装置
有效
申请
2021-12-02
申请公布
1970-01-01
授权
2022-04-12
预估到期
2031-12-02
| 申请号 | CN202123012522.8 |
| 申请日 | 2021-12-02 |
| 授权公布号 | CN216272114U |
| 授权公告日 | 2022-04-12 |
| 分类号 | B65G69/18 |
| 分类 | 输送;包装;贮存;搬运薄的或细丝状材料; |
| 申请人名称 | 博凯药业有限公司 |
| 申请人地址 | 河南省郑州市高新区高新技术产业开发区冬青街7号1302号 |
专利法律状态
2022-04-12
授权
状态信息
授权
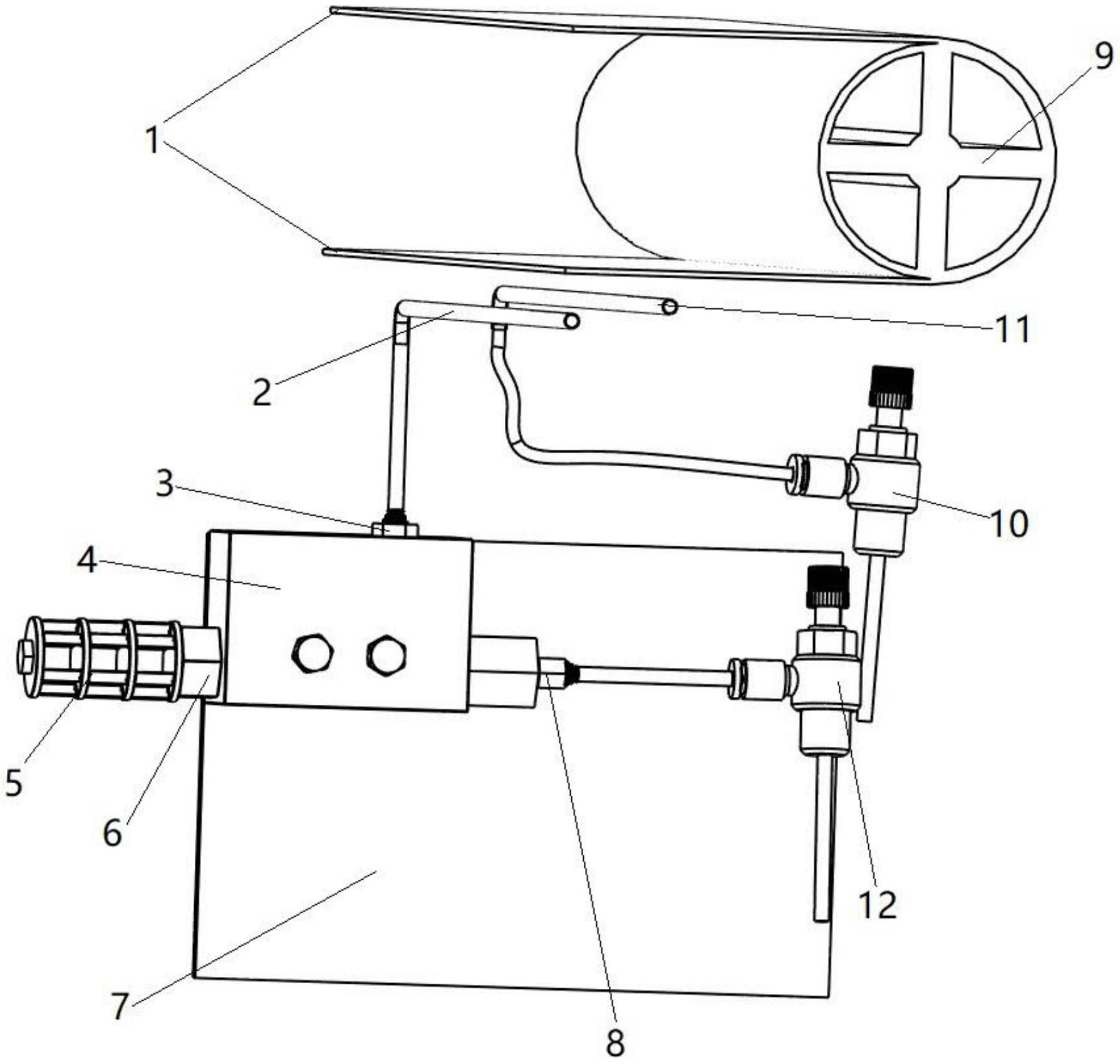
摘要
本申请涉及生产线设备技术领域,具体而言,涉及一种输送装置,包括输送带、作用组件和吸尘组件,所述作用组件作用在所述输送带上以使所述输送带上的粉尘与所述输送带分离,所述吸尘组件靠近所述作用组件和所述输送带设置,所述吸尘组件用于吸入并收集所述粉尘。本申请的目的在于针对现有一些商品生产时会将产生的粉末覆盖在包装盒或包装瓶的输送带上,给包装瓶或包装盒后续粘贴商标的工序带来不利影响的问题,提供一种输送装置。


