授权公布号:CN208927414U
用于伤口护理、创面封闭的无菌粉末喷涂装置
有效
申请
2017-12-07
申请公布
1970-01-01
授权
2019-06-04
预估到期
2027-12-07
| 申请号 | CN201721685026.X |
| 申请日 | 2017-12-07 |
| 授权公布号 | CN208927414U |
| 授权公告日 | 2019-06-04 |
| 分类号 | A61M35/00;A61M31/00 |
| 分类 | 医学或兽医学;卫生学; |
| 申请人名称 | 上海昊海生物科技股份有限公司 |
| 申请人地址 | 上海市松江区洞泾路5号 |
专利法律状态
2019-06-04
授权
状态信息
授权
摘要
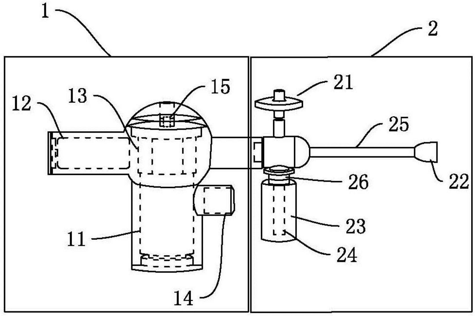
本实用新型涉及医疗器械技术领域,尤其是一种用于伤口护理、创面封闭的无菌粉末喷涂装置,其包括粉末流化装置、驱动气源、气体过滤装置及喷头。该粉末流化装置可直接插入粉末容器,由驱动气源向其提供无菌空气,粉末经流化后由喷头喷出后均匀的喷涂到伤口表面。该装置能够可控的、持续的、稳定均匀的在患者伤口表面喷涂无菌的药物粉末。而且无需在瓶内放置电机,不会造成药粉的污染;完全无菌,安全性高。


