授权公布号:CN115518747B
熊胆粉加工用粉碎机及其使用方法
有效
申请
2022-11-03
申请公布
2022-12-27
授权
2023-05-02
预估到期
2042-11-03
| 申请号 | CN202211368152.8 |
| 申请日 | 2022-11-03 |
| 申请公布号 | CN115518747A |
| 申请公布日 | 2022-12-27 |
| 授权公布号 | CN115518747B |
| 授权公告日 | 2023-05-02 |
| 分类号 | B02C18/14;B02C18/24;B02C23/16;B07B1/52;B02C18/22 |
| 分类 | 破碎、磨粉或粉碎;谷物碾磨的预处理; |
| 申请人名称 | 苏州市天灵中药饮片有限公司 |
| 申请人地址 | 江苏省苏州市高新区嵩山路218号 |
专利法律状态
2023-05-02
授权
状态信息
授权
2022-12-27
公布
状态信息
公布
摘要
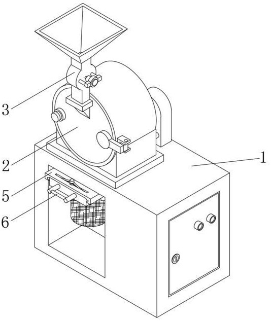
本发明公开了熊胆粉加工用粉碎机及其使用方法,应用在熊胆粉加工技术领域,通过设置定量上料机构,可以便于进行定量上料的工作,避免在上料的过程中出现堵塞的情况,接着通过破碎机结构在破碎箱机构的内部进行破碎工作,通过传动组件带动旋转破碎仓进行转动,可以使旋转破碎仓内部的熊胆可以进行均匀的破碎工作,避免出现破碎效果不好的情况,通过设置下料机构,可以便于破碎完成的熊胆粉通过下料板进入装料结构的内部,当装料结构完成装料时,通过按压固定柱,使固定柱带动连接块和圆块通过限位槽进行活动,解除固定板与下料板的固定,接着可以拉动把手带动固定板将布袋取下。


