授权公布号:CN220530725U
一种上料结构及高压提取浓缩中药用提取罐
有效
申请
2023-08-02
申请公布
1970-01-01
授权
2024-02-27
预估到期
2033-08-02
| 申请号 | CN202322066047.5 |
| 申请日 | 2023-08-02 |
| 授权公布号 | CN220530725U |
| 授权公告日 | 2024-02-27 |
| 分类号 | B01D11/02 |
| 分类 | 一般的物理或化学的方法或装置; |
| 申请人名称 | 苏州市天灵中药饮片有限公司 |
| 申请人地址 | 江苏省苏州市苏州高新区嵩山路218号 |
专利法律状态
2024-02-27
授权
状态信息
授权
摘要
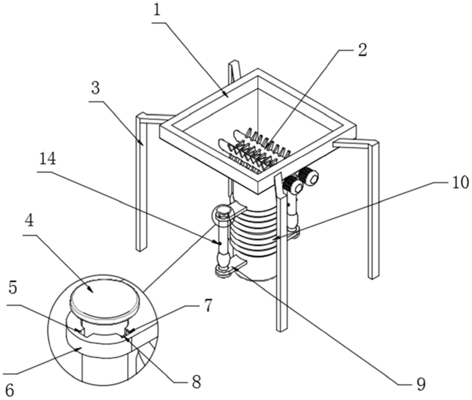
本实用新型涉及提取罐设备技术领域,具体为一种上料结构及高压提取浓缩中药用提取罐,包括上料斗的内部设有破碎辊,且上料斗的表面设有下料管,波纹管设于下料管的表面,且下料管的表面设有支板一,支板一的表面开设有导向口,导向口中设有定位柱,对接管设于波纹管的表面,且对接管的表面设有支板二;有益效果为:电机带动破碎辊工作对药材进行破碎实现其尺寸的减小,经破碎后的药材滑落至下料管中,然后从对接管流入至提取罐中进行煎煮提取工序,有效提高药材向提取罐中进入的顺畅性,避免其在进料管中发生堵塞的现象,且经破碎后的药材有效减少其煎煮提取时间,有利于效率的提高。


