授权公布号:CN220562998U
一种出料结构及中药复方颗粒造粒机
有效
申请
2023-05-15
申请公布
1970-01-01
授权
2024-03-08
预估到期
2033-05-15
| 申请号 | CN202321165249.9 |
| 申请日 | 2023-05-15 |
| 授权公布号 | CN220562998U |
| 授权公告日 | 2024-03-08 |
| 分类号 | B65B1/30;A61J3/00 |
| 分类 | 输送;包装;贮存;搬运薄的或细丝状材料; |
| 申请人名称 | 苏州市天灵中药饮片有限公司 |
| 申请人地址 | 江苏省苏州市苏州高新区嵩山路218号 |
专利法律状态
2024-03-08
授权
状态信息
授权
摘要
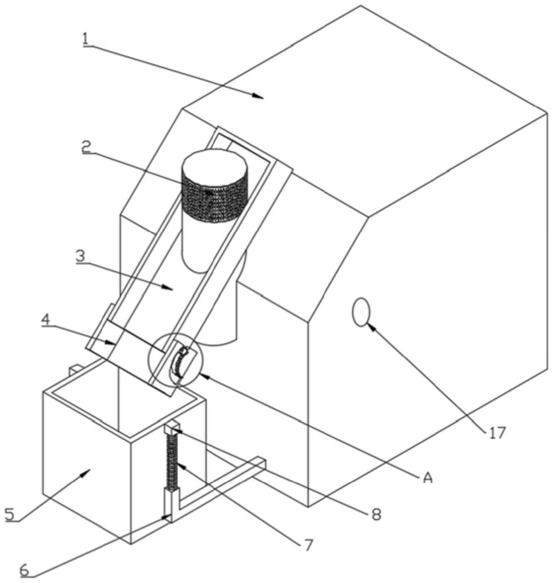
本实用新型涉及造粒机技术领域,具体为一种出料结构及中药复方颗粒造粒机,包括:料斗和药盒,料斗套设固定在螺旋出料口的表面,螺旋出料口的底端固定有壳体,其特征在于:所述药盒的表面固定有上触点,上触点的下面设置有下触点,料斗呈一个侧面未封闭的矩形盒体结构,料斗的表面旋转连接有翻斗来对料斗未封闭的侧面进行封档;有益效果为:在造粒机的料斗下设置药盒,随着药盒中的颗粒增多药盒的重量逐渐加大,药盒侧面所设置的弹簧被压缩,弹簧中所套设的上下触点接触后伺服电机转动将翻斗升起对料斗底部封档,实现了定量出料的目的,同时药盒放置在造粒机壳体上的支撑杆上避免与地面接触改善了卫生状况。


