授权公布号:CN204882304U
旋转式可拆卸粘度计
有效
申请
2015-08-13
申请公布
1970-01-01
授权
2015-12-16
预估到期
2025-08-13
| 申请号 | CN201520609000.1 |
| 申请日 | 2015-08-13 |
| 授权公布号 | CN204882304U |
| 授权公告日 | 2015-12-16 |
| 分类号 | G01N11/14 |
| 分类 | 测量;测试; |
| 申请人名称 | 海南海润生物科技股份有限公司 |
| 申请人地址 | 海南省海口市海府路16号亚希大厦601室 |
专利法律状态
2015-12-16
授权
状态信息
授权
摘要
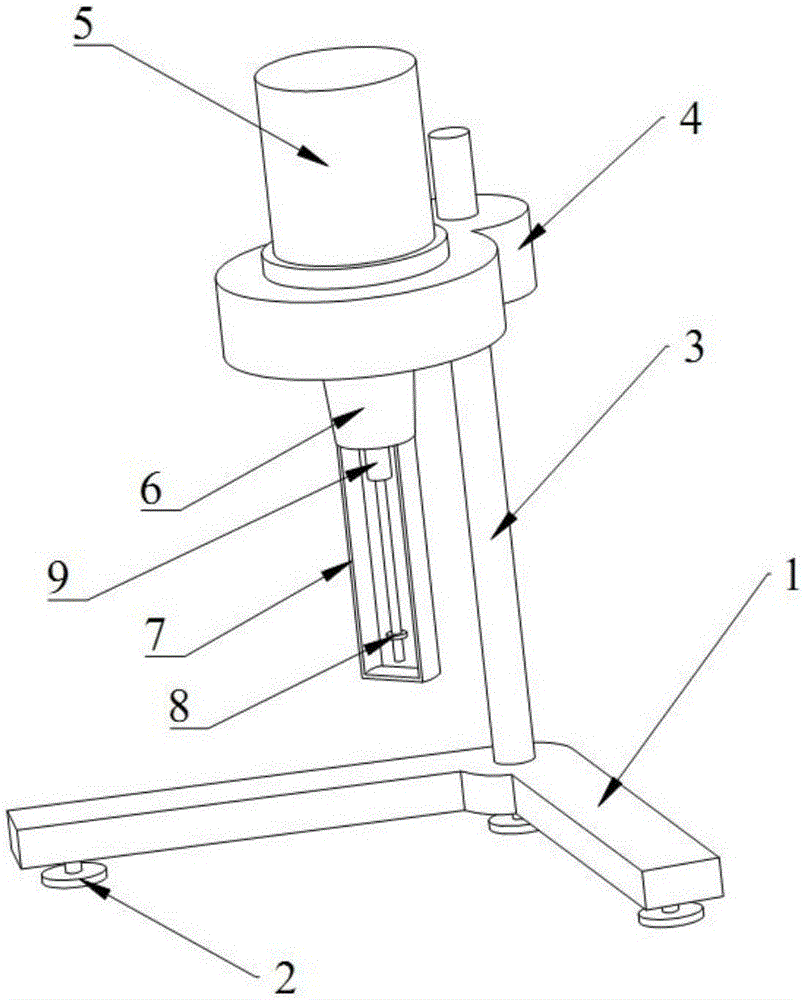
本实用新型公开了旋转式可拆卸粘度计,属于化妆品领域,主要解决目前现有的粘度计不能够根据产品的性能不同采用不同大小的旋转针,在检测产品过程中容易使得产品夹杂其他物质的问题,所述底座为L型结构设计,所述底座下端分布有调节垫片,所述立杆设在底座的直角处,所述立杆的一端与底座实现焊接固定,所述立杆的另一端设有电机座,所述电机座内设有容纳电机的圆形孔,所述转速输出头的下端设有容纳转子的螺纹孔,所述传感器通过夹头固定在转子内,本实用新型新颖独特,借助可拆卸的设计结构,解决了现有的粘度计不能够根据产品的性能不同采用不同大小的旋转针,在检测产品过程中容易使得产品夹杂其他物质的问题,测量精准度高。


