授权公布号:CN204841486U
可拆卸式搅拌器
有效
申请
2015-08-13
申请公布
1970-01-01
授权
2015-12-09
预估到期
2025-08-13
| 申请号 | CN201520608621.8 |
| 申请日 | 2015-08-13 |
| 授权公布号 | CN204841486U |
| 授权公告日 | 2015-12-09 |
| 分类号 | B01F7/16 |
| 分类 | 一般的物理或化学的方法或装置; |
| 申请人名称 | 海南海润生物科技股份有限公司 |
| 申请人地址 | 海南省海口市海府路16号亚希大厦601室 |
专利法律状态
2015-12-09
授权
状态信息
授权
摘要
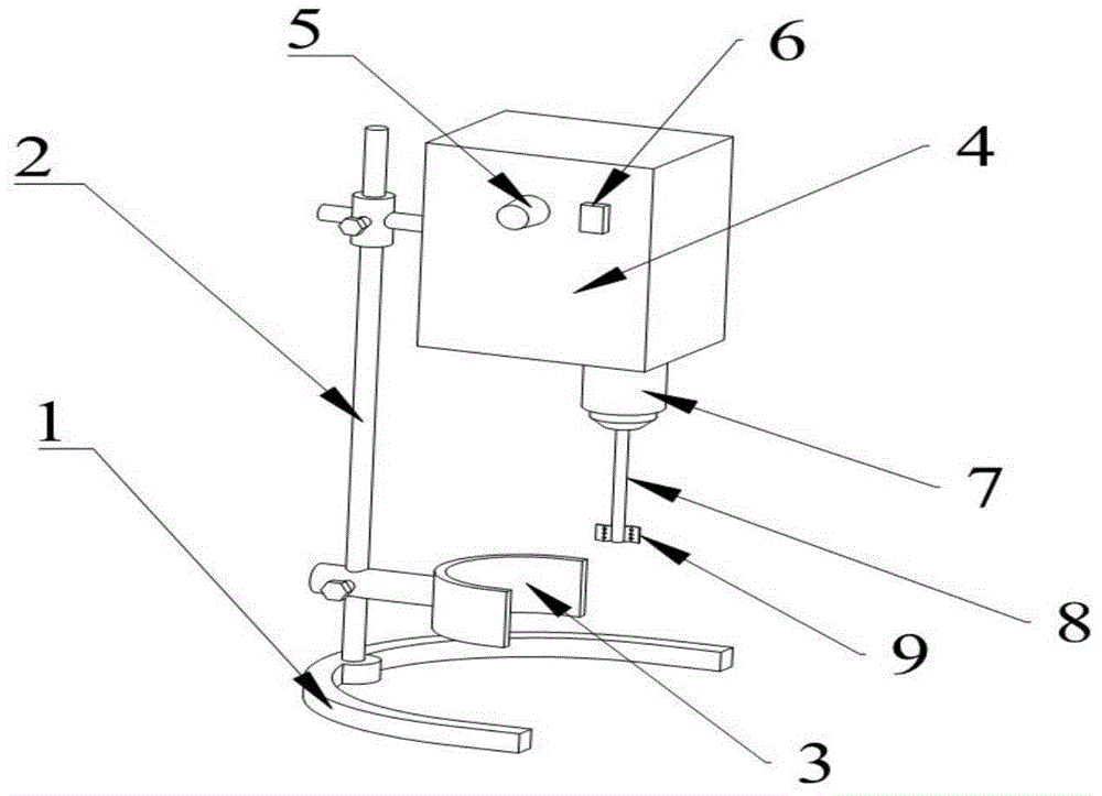
本实用新型涉及可拆卸式搅拌器,属于化妆品领域,主要解决在产品生产过程中容易出现搅拌不均匀的问题,所述立杆通过焊接与底座实现连接固定,所述立杆的上端部设有电机头,所述立杆的下端部与容器夹具实现螺纹固定,所述电机头为立式方形体,所述速度调节旋钮和开关分布在电机头的侧面,夹头通过焊接固定在电机头的底部,夹头底部设有容纳刀杆的螺纹孔,所述刀杆上端设有螺纹,刀杆的下端部设有刀片,本实用新型新颖独特,借助可拆卸式的设计结构,很好的满足其使用需求,解决了在产品生产过程中容易出现搅拌不均匀的情况,并且不能具体产品的要求安装不同形状的搅拌轴的问题,加快生产进度,保证生产质量,有利于生产产量提高。


