授权公布号:CN218553808U
搅拌器
有效
申请
2022-11-14
申请公布
1970-01-01
授权
2023-03-03
预估到期
2032-11-14
| 申请号 | CN202223024018.4 |
| 申请日 | 2022-11-14 |
| 授权公布号 | CN218553808U |
| 授权公告日 | 2023-03-03 |
| 分类号 | B01F27/90;B01F35/43;B01F35/33 |
| 分类 | 一般的物理或化学的方法或装置; |
| 申请人名称 | 海南海润生物科技股份有限公司 |
| 申请人地址 | 海南省海口市海府路16号亚希大厦601室 |
专利法律状态
2023-03-03
授权
状态信息
授权
摘要
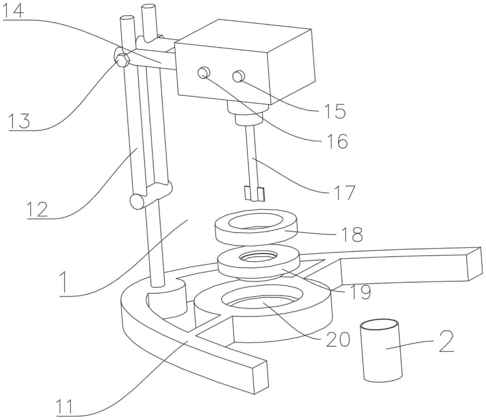
本实用新型公开了一种搅拌器,包括设有凹槽的底座、固定于所述底座且竖向设置的插杆、和由所述插杆支撑的搅拌部件,所述搅拌部件位于所述凹槽上方;所述搅拌器还设有包括至少两个调节块的调节块组,各所述调节块的外部尺寸均与所述凹槽相配合,且各所述调节块的内部固定槽均具有不同的尺寸。由于可以通过所述调节块的内部固定槽将烧杯等部件牢固固定于底座上,即使搅拌速度较高也不会出现烧杯被甩飞等不利情况。此外,由于包括至少两个调节块且各调节块的内部固定槽均具有不同的尺寸,这样,在不同场合下对于不同尺寸、类型的烧杯等部件可以选择使用与其相匹配的调节块,这样就显著提高了本实用新型所提供搅拌器的适用范围。


