授权公布号:CN214861331U
一种用于豌豆肽提取的多功能提取罐
有效
申请
2021-01-18
申请公布
1970-01-01
授权
2021-11-26
预估到期
2031-01-18
| 申请号 | CN202120121928.0 |
| 申请日 | 2021-01-18 |
| 授权公布号 | CN214861331U |
| 授权公告日 | 2021-11-26 |
| 分类号 | B01D11/02 |
| 分类 | 一般的物理或化学的方法或装置; |
| 申请人名称 | 海南华研胶原科技股份有限公司 |
| 申请人地址 | 海南省海口市国家高新区美安科技新城美风路12号 |
专利法律状态
2021-11-26
授权
状态信息
授权
摘要
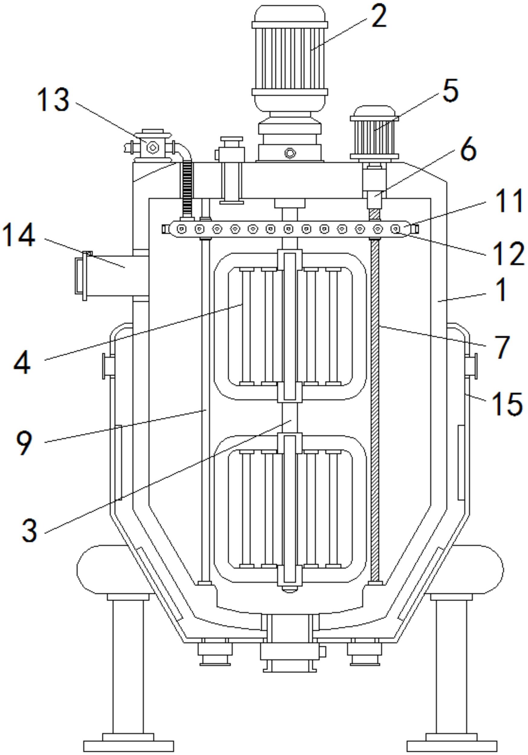
本实用新型涉及豌豆肽提取技术领域,且公开了一种用于豌豆肽提取的多功能提取罐,包括罐体,所述罐体的顶部固定安装有搅拌电机,所述搅拌电机的输出轴固定安装有轴杆,所述轴杆的外侧固定安装有两个搅拌器,所述罐体的顶部固定安装有驱动电机,所述驱动电机的输出轴固定连接有连接杆,所述连接杆的底端固定连接有丝杆,所述丝杆的外侧螺纹连接有丝块,所述罐体的内顶壁与内底壁之间固定安装有滑杆,所述滑杆的外侧滑动连接有滑块,所述滑块与丝块的相背一侧之间固定安装有水盘。该用于豌豆肽提取的多功能提取罐,可上下移动对罐体的内壁进行冲洗,冲洗效果好,该过程中可对罐体内部进行有效的清洗,清洗方便,从而提高了实用性。


