授权公布号:CN210146414U
一种蜜饯生产用滚筛
有效
申请
2019-05-06
申请公布
1970-01-01
授权
2020-03-17
预估到期
2029-05-06
| 申请号 | CN201920633965.2 |
| 申请日 | 2019-05-06 |
| 授权公布号 | CN210146414U |
| 授权公告日 | 2020-03-17 |
| 分类号 | B07B1/24;B07B1/42;B07B1/46 |
| 分类 | 将固体从固体中分离;分选; |
| 申请人名称 | 紫金华丰国际食品企业有限公司 |
| 申请人地址 | 广东省河源市紫金县紫城镇龙潭242省道出口处 |
专利法律状态
2020-03-17
授权
状态信息
授权
摘要
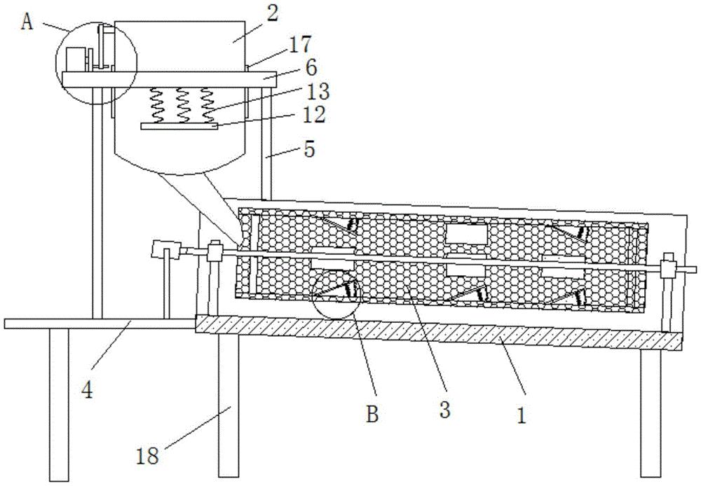
本实用新型涉及蜜饯生产设备技术领域,且公开了一种蜜饯生产用滚筛,包括滚筛主体、进料斗和筛筒,滚筛主体的外壁固定连接有支撑板,支撑板的上表面和滚筛主体的外壁均固定连接有多个支撑柱,多个支撑柱的上表面共同固定连接有固定环,固定环的内壁与进料斗的外壁滑动连接,固定环的上表面固定连接有驱动电机,驱动电机的输出端固定连接有转盘,转盘的外壁转动连接有转杆,转杆的外壁固定套接有连接杆,连接杆的顶端铰接有固定块,固定块的侧壁与进料斗的外壁固定连接。本实用新型能够有效提高滚筛的筛选效率,同时能够实现果子进料时不会堵塞,不需要人工疏通堵塞,省时省力,降低了工作人员的劳动强度。


