授权公布号:CN216169983U
一种用于螺旋藻提取有益成分的喷雾干燥塔
有效
申请
2021-10-22
申请公布
1970-01-01
授权
2022-04-05
预估到期
2031-10-22
| 申请号 | CN202122547347.6 |
| 申请日 | 2021-10-22 |
| 授权公布号 | CN216169983U |
| 授权公告日 | 2022-04-05 |
| 分类号 | B01D1/18;B01D1/30;B08B9/087 |
| 分类 | 一般的物理或化学的方法或装置; |
| 申请人名称 | 丽江程海湖天然螺旋藻生产基地有限公司 |
| 申请人地址 | 云南省丽江市永胜县程海镇芮家村 |
专利法律状态
2022-04-05
授权
状态信息
授权
摘要
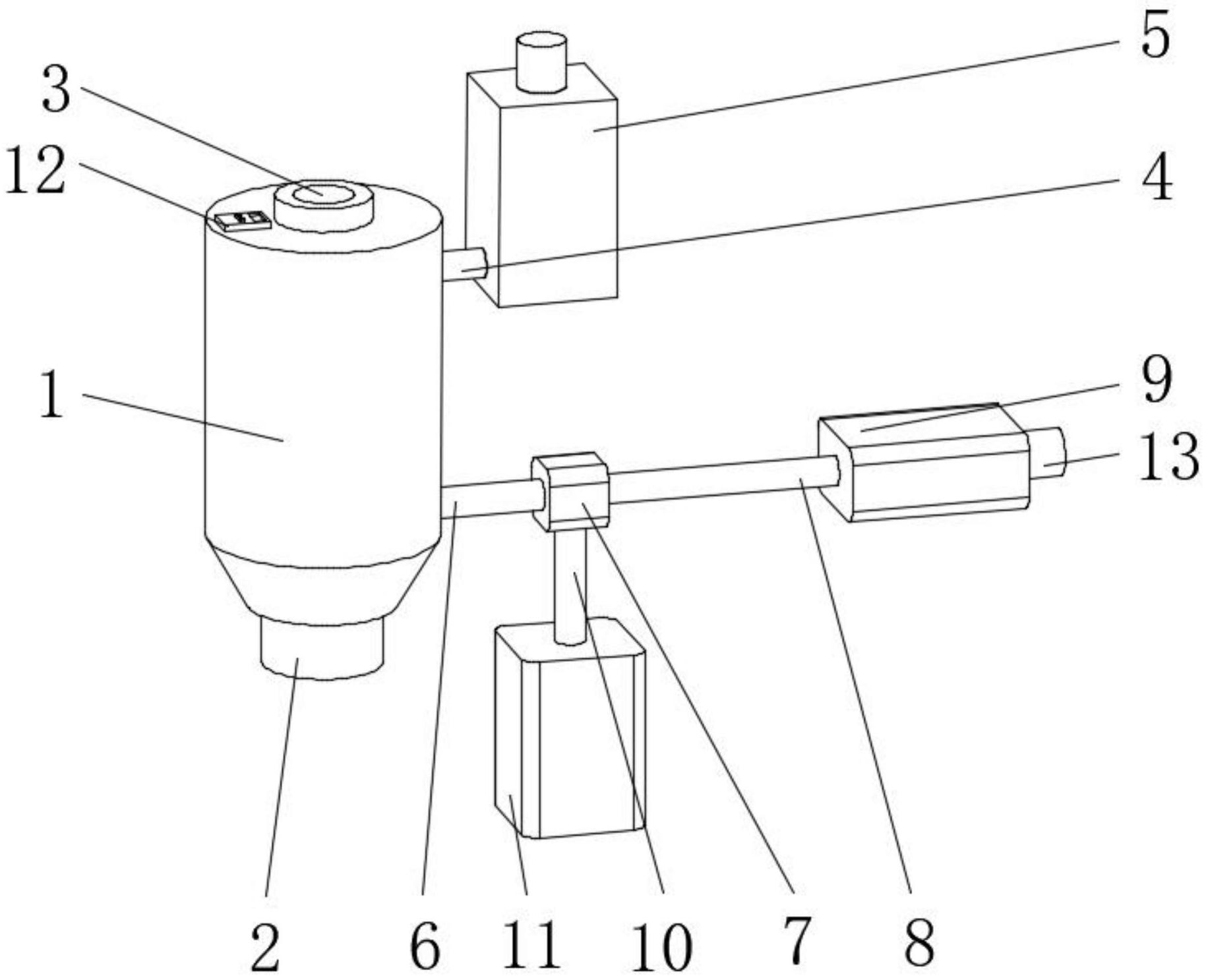
本实用新型公开了一种用于螺旋藻提取有益成分的喷雾干燥塔,涉及喷雾干燥技术领域。本实用新型包括干燥箱,所述干燥箱下端固定连接有刮除装置,干燥箱上端固定连接有喷雾口,干燥箱外表面右侧上方固定连接有进气管,进气管另一端固定连接有加热装置,干燥箱外表面右侧下方固定连接有出料管,出料管另一端固定连接有过滤箱,过滤箱右端固定连接有分流管一,分流管一另一端固定连接有集杂箱,过滤箱下端固定连接有分流管二,分流管二另一端固定连接有物料箱。本实用新型通过刮除装置与干燥箱之间的协作,使得干燥箱内壁上的物料能够被收集使用,避免了浪费资源,提高了工作收益。


