授权公布号:CN215517389U
一种多功能螺旋藻养殖液碳源添加装置
有效
申请
2021-08-23
申请公布
1970-01-01
授权
2022-01-14
预估到期
2031-08-23
| 申请号 | CN202121985206.6 |
| 申请日 | 2021-08-23 |
| 授权公布号 | CN215517389U |
| 授权公告日 | 2022-01-14 |
| 分类号 | C12M1/04;C12M1/00 |
| 分类 | 生物化学;啤酒;烈性酒;果汁酒;醋;微生物学;酶学;突变或遗传工程; |
| 申请人名称 | 丽江程海湖天然螺旋藻生产基地有限公司 |
| 申请人地址 | 云南省丽江市永胜县程海镇芮家村 |
专利法律状态
2022-01-14
授权
状态信息
授权
摘要
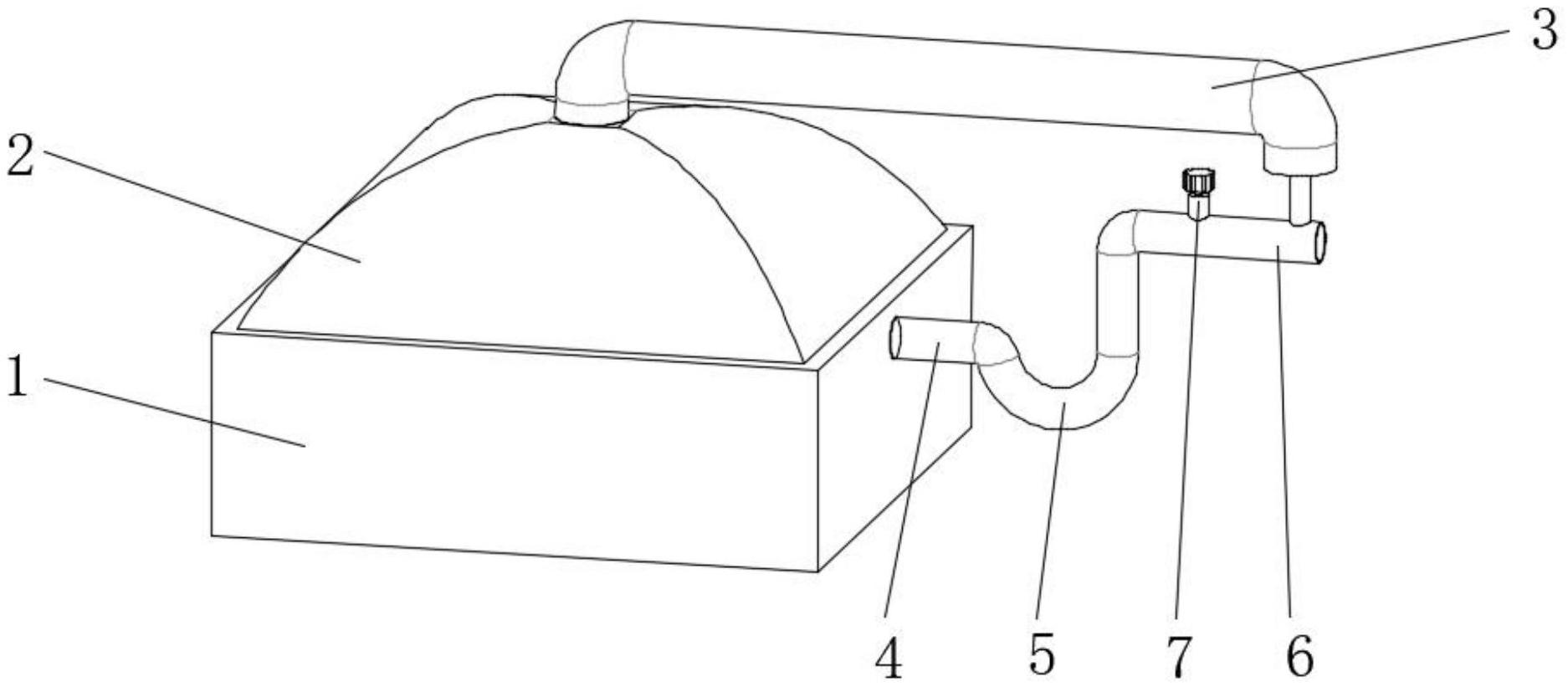
本实用新型公开了一种多功能螺旋藻养殖液碳源添加装置,涉及螺旋藻养殖技术领域。本实用新型包括培养基,所述培养基上方固定连接有防护罩,防护罩上方固定连接有循环通道,培养基一侧固定连接有进气管,进气管一端固定连接有U形管,U形管一端固定连接有输气管,输气管上方固定连接有开关装置,输气管内部固定连接有挡板一。本实用新型通过防护罩与循环通道之间的协作,使得未充分吸收的二氧化碳能够被再次吸收,提高了二氧化碳的利用率。


