授权公布号:CN216024712U
一种新型摇摆颗粒机
有效
申请
2021-09-02
申请公布
1970-01-01
授权
2022-03-15
预估到期
2031-09-02
| 申请号 | CN202122117862.0 |
| 申请日 | 2021-09-02 |
| 授权公布号 | CN216024712U |
| 授权公告日 | 2022-03-15 |
| 分类号 | B01J2/12 |
| 分类 | 一般的物理或化学的方法或装置; |
| 申请人名称 | 健民药业集团股份有限公司 |
| 申请人地址 | 湖北省武汉市汉阳区鹦鹉大道484号 |
专利法律状态
2022-03-15
授权
状态信息
授权
摘要
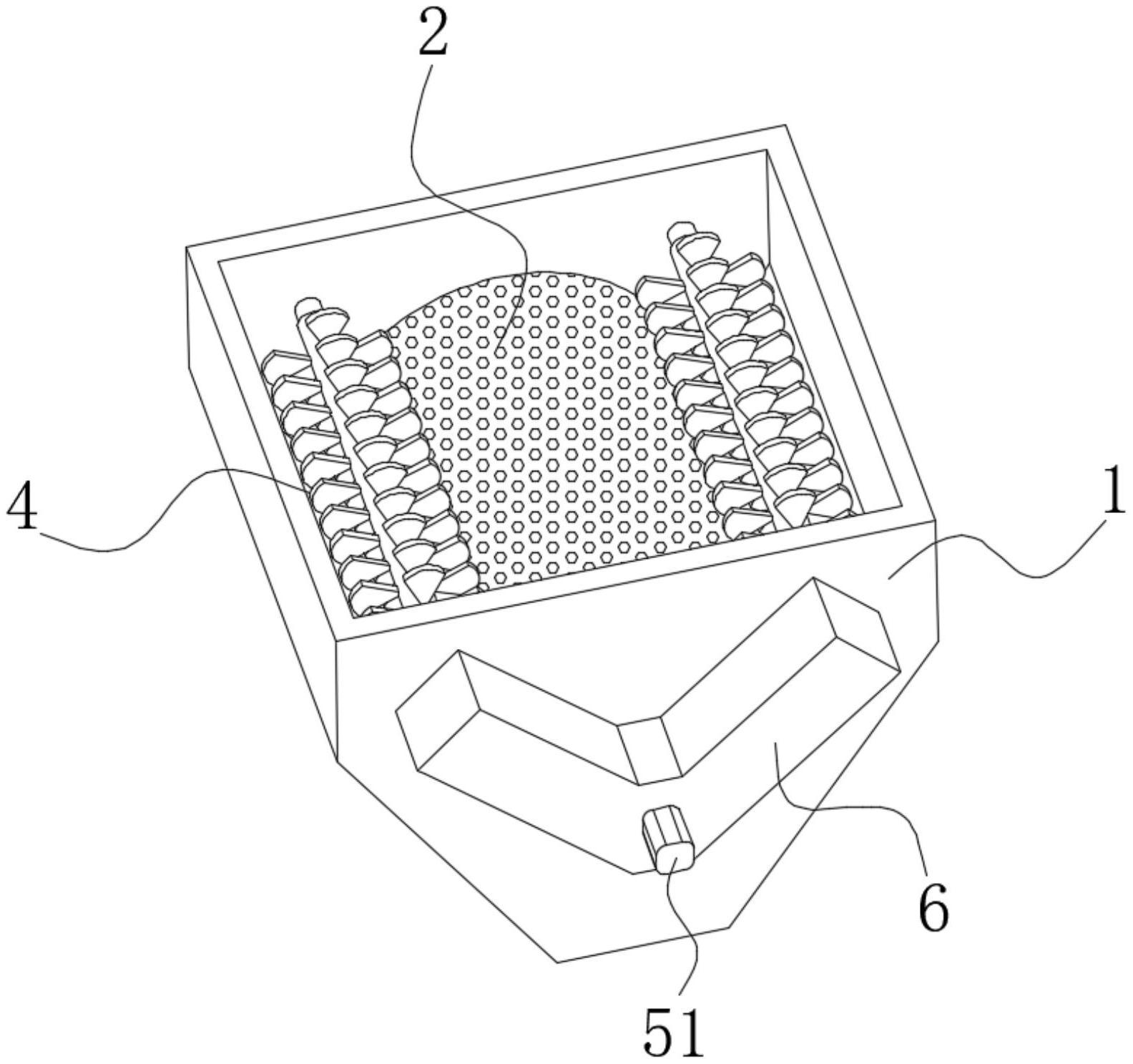
本实用新型公开了一种新型摇摆颗粒机,涉及摇摆颗粒机技术领域,包括料斗,所述料斗的内部转动连接有滚筒,所述滚筒的一端固定连接有转动杆,所述转动杆贯穿料斗并与料斗转动连接,所述料斗的内部设有搅动机构,所述料斗的外表面固定连接有保护外壳,所述保护外壳的内部设有传动机构,所述搅动机构包括转动连接在料斗内壁的两个旋转轴,两个所述旋转轴相对称。它能够通过搅动机构和传动机构的配合设计,通过传动机构的旋转能够带动搅动机构在料斗的内部旋转,能够对料斗内部的软料实现搅拌和翻动,不会使软料在料斗的内部结成拱桥状造成堵塞,无需人工对软料进行铲压,大大增加了工作效率,能够避免对操作人员造成安全隐患。


