授权公布号:CN220151172U
一种室内平开门框型材
有效
申请
2023-04-21
申请公布
1970-01-01
授权
2023-12-08
预估到期
2033-04-21
| 申请号 | CN202320903849.4 |
| 申请日 | 2023-04-21 |
| 授权公布号 | CN220151172U |
| 授权公告日 | 2023-12-08 |
| 分类号 | E06B1/52;E06B1/16;E06B1/60 |
| 分类 | 一般门、窗、百叶窗或卷辊遮帘;梯子; |
| 申请人名称 | 金牌厨柜家居科技股份有限公司 |
| 申请人地址 | 福建省厦门市同安工业集中区同安园集和路190号 |
专利法律状态
2023-12-08
授权
状态信息
授权
摘要
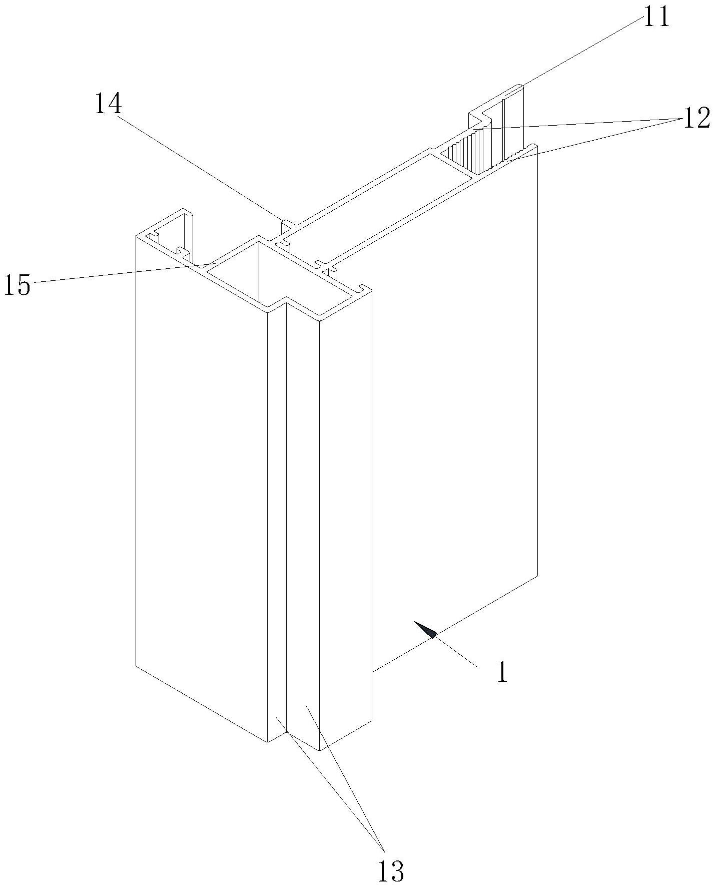
本实用新型涉及一种室内平开门框型材,包括门框型材和洞口,所述门框型材延伸有延长铝壁,所述延长铝壁上设有V字形钉线,用于与洞口固定连接,所述延长铝壁通过固定螺钉将门框型材固定在洞口上,所述门框铝壁安装有用于遮挡固定螺钉的门框盖板,本实用新型通过延长铝壁对门框进行固定,从而避免了在原有门框的可视面上开孔,保护了门框型材的表面,无过孔设计,通过门框盖板将固定螺钉封盖住,提高了门框整体的美观度,不仅降低了人工成本和设备损耗,还提高了产品的整体美观度。


