授权公布号:CN212505566U
一种模压靴棉毛布自动压紧及切段装置
有效
申请
2020-06-04
申请公布
1970-01-01
授权
2021-02-09
预估到期
2030-06-04
| 申请号 | CN202021002178.7 |
| 申请日 | 2020-06-04 |
| 授权公布号 | CN212505566U |
| 授权公告日 | 2021-02-09 |
| 分类号 | D06H7/00;D06C15/02 |
| 分类 | 织物等的处理;洗涤;其他类不包括的柔性材料; |
| 申请人名称 | 鹤壁飞鹤股份有限公司 |
| 申请人地址 | 河南省鹤壁市山城区朝阳街369号 |
专利法律状态
2021-02-09
授权
状态信息
授权
摘要
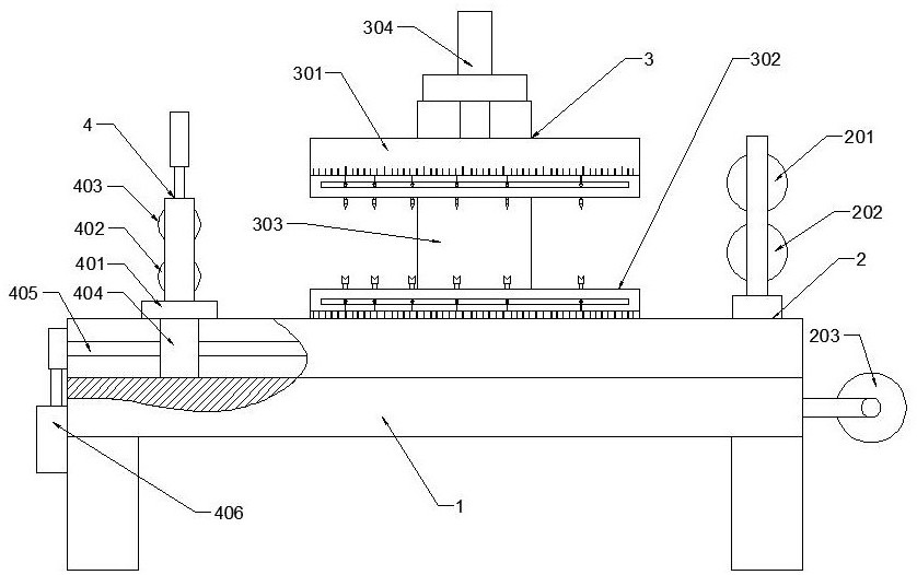
本实用新型公开了一种模压靴棉毛布自动压紧及切段装置,解决了现有技术中棉毛布分切效率低的问题。本实用新型包括机架,机架上沿进布方向依次设有压平辊组、切段机构和拉紧辊组,拉紧辊组滑动设置在机架上,切段机构和压平辊组固定在机架上,且切段机构位于压平辊组和拉紧辊组之间。本实用新型使用时棉毛布经压平辊组压平,然后由拉紧辊组拉紧,最后切段机构对压紧的棉毛布切段,大大节省人力,提高切割效率和质量。切段机构的切割长度便于调节,可用于切割不同长度的棉毛布,适用范围更广,使用更加灵活。


