授权公布号:CN214432272U
一种胶靴大底出型自动冲切装置
有效
申请
2021-03-23
申请公布
1970-01-01
授权
2021-10-22
预估到期
2031-03-23
| 申请号 | CN202120585344.9 |
| 申请日 | 2021-03-23 |
| 授权公布号 | CN214432272U |
| 授权公告日 | 2021-10-22 |
| 分类号 | A43D8/04 |
| 分类 | 鞋类; |
| 申请人名称 | 鹤壁飞鹤股份有限公司 |
| 申请人地址 | 河南省鹤壁市山城区朝阳街369号 |
专利法律状态
2021-10-22
授权
状态信息
授权
摘要
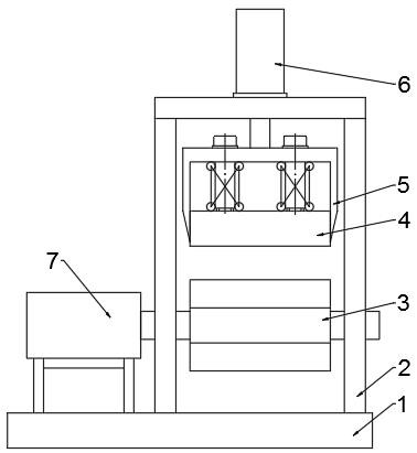
本实用新型提出一种胶靴大底出型自动冲切装置,包括底座,底座上固定设有支架,支架上设有下支撑和升降装置,下支撑与支架转动连接,下支撑上设有若干个夹头,升降装置上设有钥刀,钥刀与夹头对应。本实用新型产生的有益效果是:在一次冲切完成后,下支撑转动对夹头进行切换,便于工人将冲切后的鞋底取下,保证工人安全,并且可以实现鞋底的连续冲切,提高工作效率;冲切过程中上夹板先于钥刀接触鞋底基材,上夹板接触基材后,上夹板与夹头配合夹紧鞋底基材,避免出现在冲切工程中基材窜动的情况。


