授权公布号:CN214917324U
一种连续喷亮油装置
有效
申请
2021-03-23
申请公布
1970-01-01
授权
2021-11-30
预估到期
2031-03-23
| 申请号 | CN202120585446.0 |
| 申请日 | 2021-03-23 |
| 授权公布号 | CN214917324U |
| 授权公告日 | 2021-11-30 |
| 分类号 | B05B13/02;B05B12/26 |
| 分类 | 一般喷射或雾化;对表面涂覆液体或其他流体的一般方法〔2〕; |
| 申请人名称 | 鹤壁飞鹤股份有限公司 |
| 申请人地址 | 河南省鹤壁市山城区朝阳街369号 |
专利法律状态
2021-11-30
授权
状态信息
授权
摘要
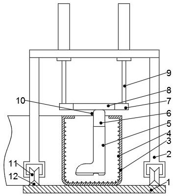
本实用新型提出一种连续喷亮油装置,包括底座,底座上设有移动支架和喷油槽,移动支架上设有升降旋转机构,升降旋转机构上设有气囊,喷油槽固定设置在底座上,且喷油槽位于升降旋转机构下方,喷油槽的内壁和底部均设有喷油头。本实用新型产生的有益效果是:胶靴在喷油槽内转动,喷油槽内壁和底部均设有喷油头,使胶靴的所有表面均能够喷涂上亮油;气囊充气卡紧胶靴,对胶靴上端开口进行封堵,避免喷涂的亮油进入胶靴内部,环形的喷油槽便于喷亮油装置的连续工作。


