授权公布号:CN214979913U
一种橡胶边打磨机
有效
申请
2020-11-23
申请公布
1970-01-01
授权
2021-12-03
预估到期
2030-11-23
| 申请号 | CN202022727574.2 |
| 申请日 | 2020-11-23 |
| 授权公布号 | CN214979913U |
| 授权公告日 | 2021-12-03 |
| 分类号 | B24B19/00;B24B41/06;B24B47/00;B24B45/00;B24B47/12 |
| 分类 | 磨削;抛光; |
| 申请人名称 | 台山市美林台球用品制造有限公司 |
| 申请人地址 | 广东省江门市台山市台城镇台海路268号 |
专利法律状态
2021-12-03
授权
状态信息
授权
摘要
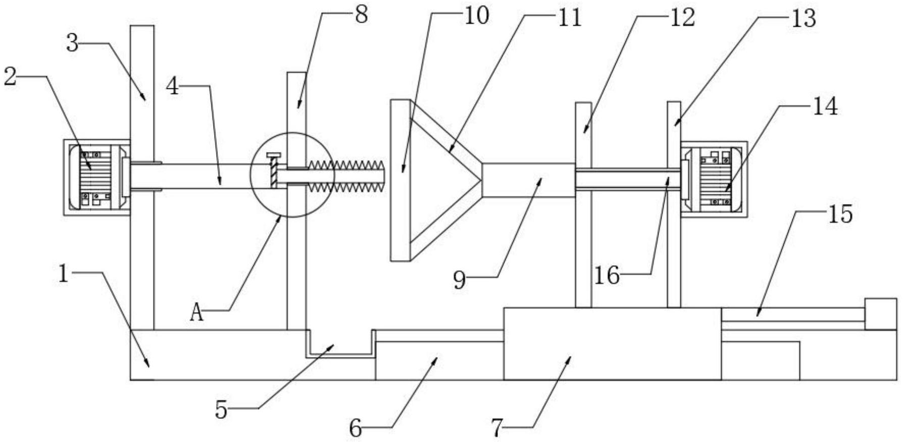
本实用新型公开了打磨机技术领域的一种橡胶边打磨机,包括加工台,所述加工台的顶端左侧固定连接有固定柱,所述固定柱的外侧面上设有电机一,所述电机一的输出端连接转轴,所述转轴通过轴承与固定杆的侧壁活动连接,所述转轴的侧端内腔活动连接打磨头,所述滑动台的上表面左侧固定连接竖板,所述竖板的左侧面固定连接有连接柱,所述连接柱的端面两侧焊接有连接杆,所述连接杆固定连接加固环的后侧端面上,所述滑动台的上表面右侧固定连接有竖杆,所述竖杆的外侧面设有电机二,本实用新型能够完成对不同花纹打磨头的更换,操作方便简单,适用范围广,加固环的设计,可以对不同大小的橡胶边进行固定连接,操作便捷,使用范围广,使用效果好。


