授权公布号:CN220142536U
康复用下拉训练装置
有效
申请
2023-06-05
申请公布
1970-01-01
授权
2023-12-08
预估到期
2033-06-05
| 申请号 | CN202321415919.8 |
| 申请日 | 2023-06-05 |
| 授权公布号 | CN220142536U |
| 授权公告日 | 2023-12-08 |
| 分类号 | A63B23/02;A63B21/00 |
| 分类 | 运动;游戏;娱乐活动; |
| 申请人名称 | 南通铁人运动用品有限公司 |
| 申请人地址 | 江苏省南通市崇川经济开发区崇川路21号 |
专利法律状态
2023-12-08
授权
状态信息
授权
摘要
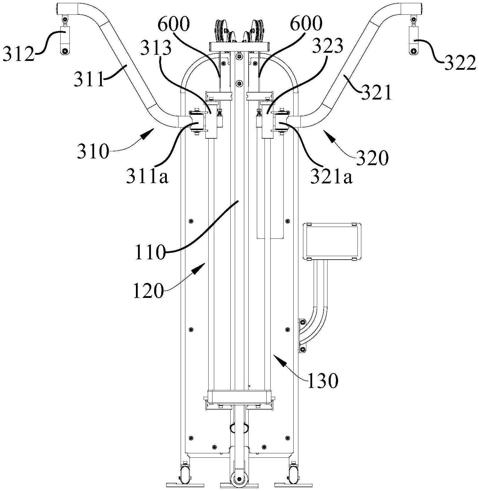
本申请公开了一种康复用下拉训练装置,包括:机架;阻力提供机构,其与机架连接;下拉机构,其通过钢丝绳与阻力提供机构相连;坐垫架,其位于下拉机构下方,坐垫架上设置有坐垫,坐垫架一端与机架转动连接;防转件,坐垫架和机架中任一个设置有防转件,防转件置入坐垫架和机架中另一个,以防止坐垫架相对于机架转动。使用者需要在坐垫上进行下拉训练时,将坐垫架转动至训练空间内,利用防转件来防止坐垫架相对于机架转动;使用者需要在轮椅进行下拉训练时,将防转件脱离坐垫架和机架中任一个,将坐垫架转动移出训练空间,轮椅可以推动至训练空间内,使用者可以根据训练需求,调整坐垫架的位置,在坐垫上进行下拉训练,或者在轮椅上进行下拉训练。


