授权公布号:CN214074976U
一种调节型多方位反应靶
有效
申请
2020-11-09
申请公布
1970-01-01
授权
2021-08-31
预估到期
2030-11-09
| 申请号 | CN202022571294.7 |
| 申请日 | 2020-11-09 |
| 授权公布号 | CN214074976U |
| 授权公告日 | 2021-08-31 |
| 分类号 | A63B69/22 |
| 分类 | 运动;游戏;娱乐活动; |
| 申请人名称 | 潍坊康瑞体育产业股份有限公司 |
| 申请人地址 | 山东省潍坊市经济开发区长松路以西、清源街以北 |
专利法律状态
2021-08-31
授权
状态信息
授权
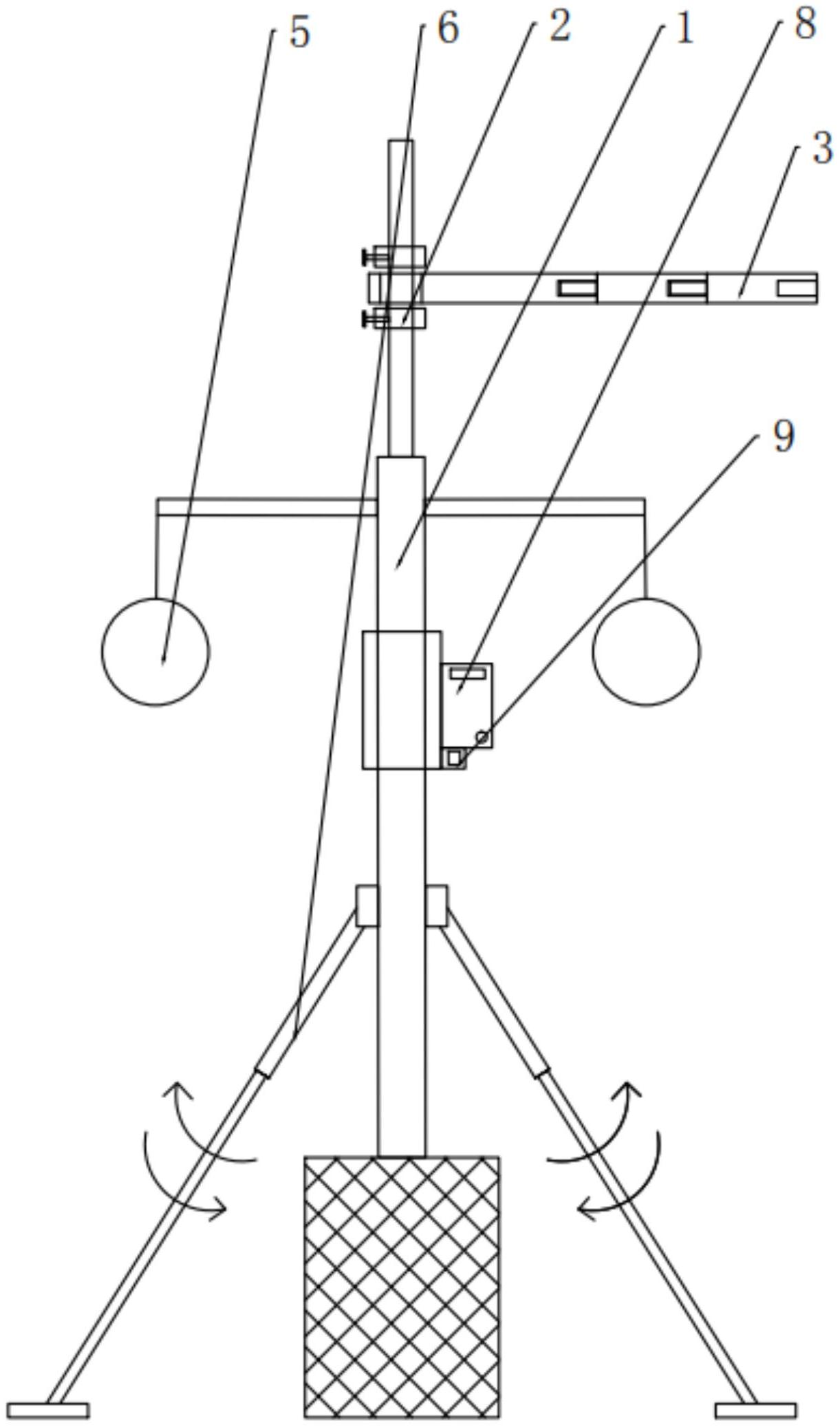
摘要
本实用新型属于体育器械技术领域,提供了一种调节型多方位反应靶,包括靶体杆,所述靶体杆的上端设置放置部;所述放置部包括放置轴、上固定套、下固定套、固定螺栓和旋转靶本体,所述放置轴的外壁从上至下依次套设所述上固定套、所述旋转靶本体和所述下固定套;所述旋转靶本体沿所述放置轴的外壁环绕设置;所述旋转靶本体的末端设置连接靶,所述连接靶设置有若干,且所述连接靶沿所述旋转靶本体的长度方向依次连接设置。本实用新型提供的一种调节型多方位反应靶,便于对旋转靶进行高度和长度的调节,利于所有人员训练使用。


