授权公布号:CN217854504U
一种旋转木马耐磨装置
有效
申请
2022-05-26
申请公布
1970-01-01
授权
2022-11-22
预估到期
2032-05-26
| 申请号 | CN202221283966.7 |
| 申请日 | 2022-05-26 |
| 授权公布号 | CN217854504U |
| 授权公告日 | 2022-11-22 |
| 分类号 | A63G1/10;A63G4/00 |
| 分类 | 运动;游戏;娱乐活动; |
| 申请人名称 | 郑州市万乐游艺设备有限公司 |
| 申请人地址 | 河南省郑州市上街区锦江路31号院 |
专利法律状态
2022-11-22
授权
状态信息
授权
摘要
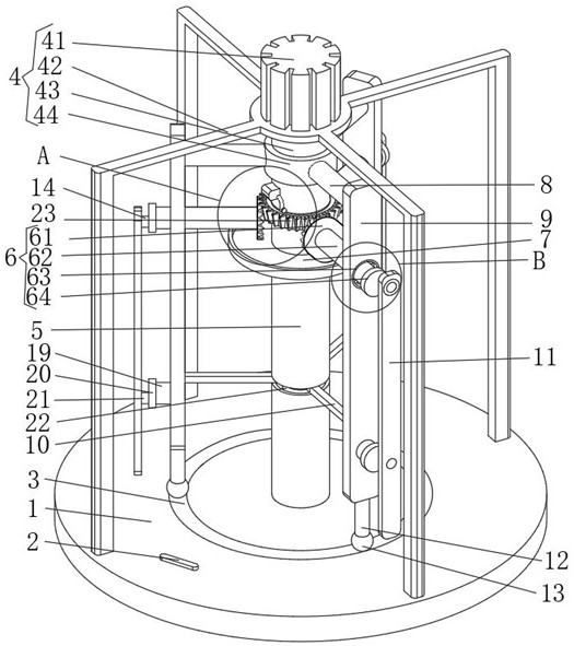
本实用新型公开了一种旋转木马耐磨装置,包括底座、驱动机构和联动机构;底座:其上表面中部设有固定轴,固定轴的外侧面上端设有第二锥齿轮,固定轴的外侧中部开设有弧形滑槽,弧形滑槽的内部分别滑动连接有下连杆,下连杆远离固定轴的一端均设有连板,连板远离固定轴的一侧下端均通过第二轴承转动连接有第三转轴,第三转轴远离固定轴的一端均设有下转盘,下转盘远离固定轴的一端偏心处设有的下转轴均通过第三轴承转动连接有升降板,该旋转木马耐磨装置,锥齿轮啮合部位配有自动润滑装置,能够对锥齿轮进行全面润滑,同时该装置结构稳定,受力均匀,防止装置在转动时产生的离心力对装置连接部位造成磨损。


