授权公布号:CN218923762U
一种游乐设备动力传感旋转装置
有效
申请
2022-08-26
申请公布
1970-01-01
授权
2023-04-28
预估到期
2032-08-26
| 申请号 | CN202222261629.4 |
| 申请日 | 2022-08-26 |
| 授权公布号 | CN218923762U |
| 授权公告日 | 2023-04-28 |
| 分类号 | A63G1/10;A63G4/00;A63G31/00;H02K7/116;H02K7/08;H02K11/30;H02K11/21 |
| 分类 | 运动;游戏;娱乐活动; |
| 申请人名称 | 凯奇集团有限公司 |
| 申请人地址 | 浙江省温州市永嘉县桥下镇小京岙工业区 |
专利法律状态
2023-04-28
授权
状态信息
授权
摘要
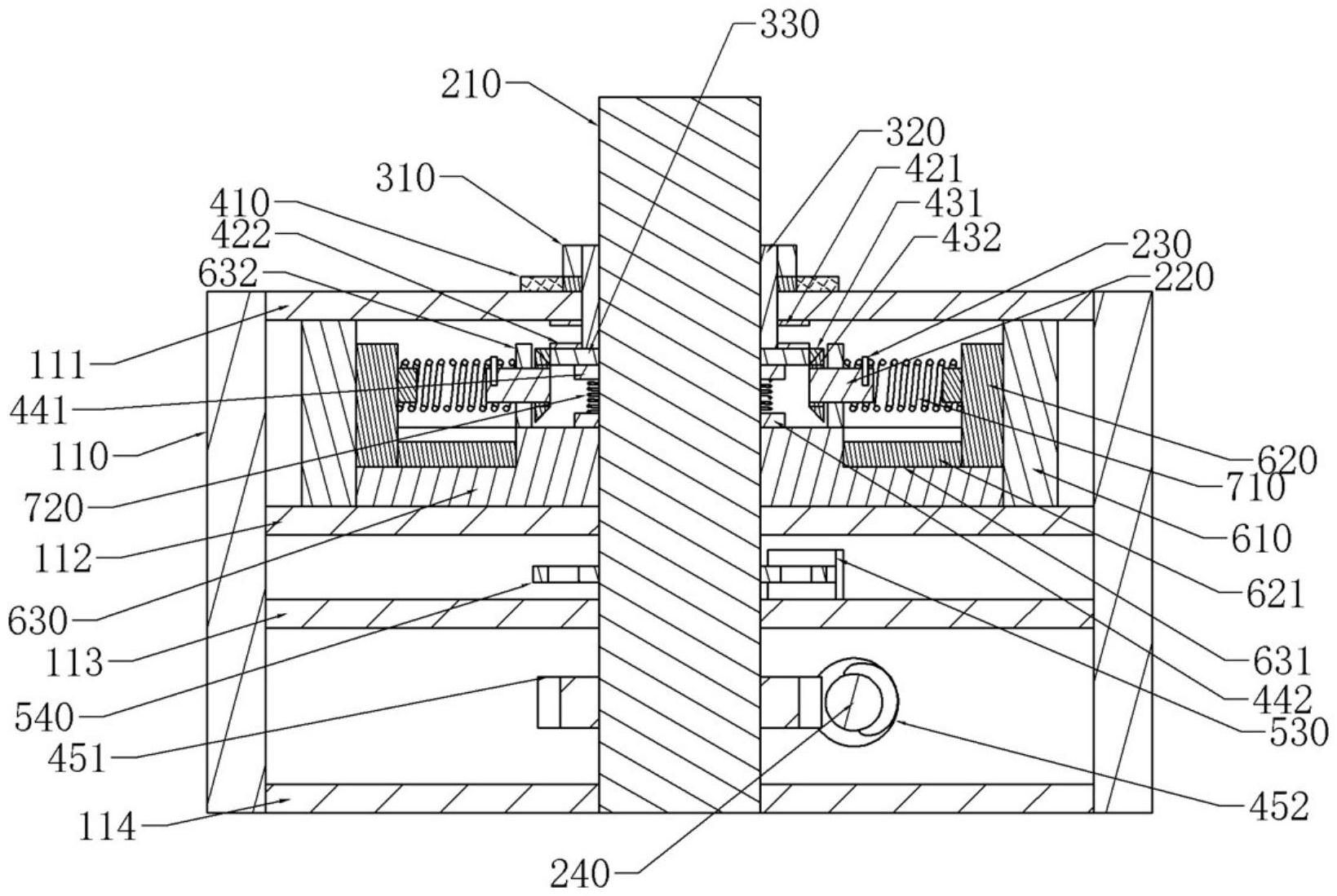
一种游乐设备动力传感旋转装置,包括外壳、输出轴,外壳上分别设置有第一横板、第二横板、第三横板、第四横板,输出轴分别与第一横板、第二横板、第三横板、第四横板装配,第一横板、第二横板之间安装有刹车筒,刹车筒内侧、输出轴上套装有圆盘,圆盘上刹车滑槽,刹车滑槽内安装有刹车滑座,刹车滑座上安装有刹车块,刹车块的外壁可与刹车筒的内壁压紧;刹车块与弹簧的一端装配,弹簧的另一端套装在调节轴上,调节轴上安装有调节销,调节销穿过弹簧的螺旋间隙;调节轴可圆周转转动地安装在轴板上,轴板安装在圆盘上。本实用新型利用刹车块与刹车筒贴合进行刹车,且刹车动力来源于输出轴旋转所产生的离心力,这种方式可以有效提高设备的安全性。


