授权公布号:CN218127259U
一种多绳索具
有效
申请
2022-09-06
申请公布
1970-01-01
授权
2022-12-27
预估到期
2032-09-06
| 申请号 | CN202222368746.0 |
| 申请日 | 2022-09-06 |
| 授权公布号 | CN218127259U |
| 授权公告日 | 2022-12-27 |
| 分类号 | A44B11/00 |
| 分类 | 服饰缝纫用品;珠宝; |
| 申请人名称 | 凯奇集团有限公司 |
| 申请人地址 | 浙江省温州市永嘉县桥下镇小京岙村 |
专利法律状态
2022-12-27
授权
状态信息
授权
摘要
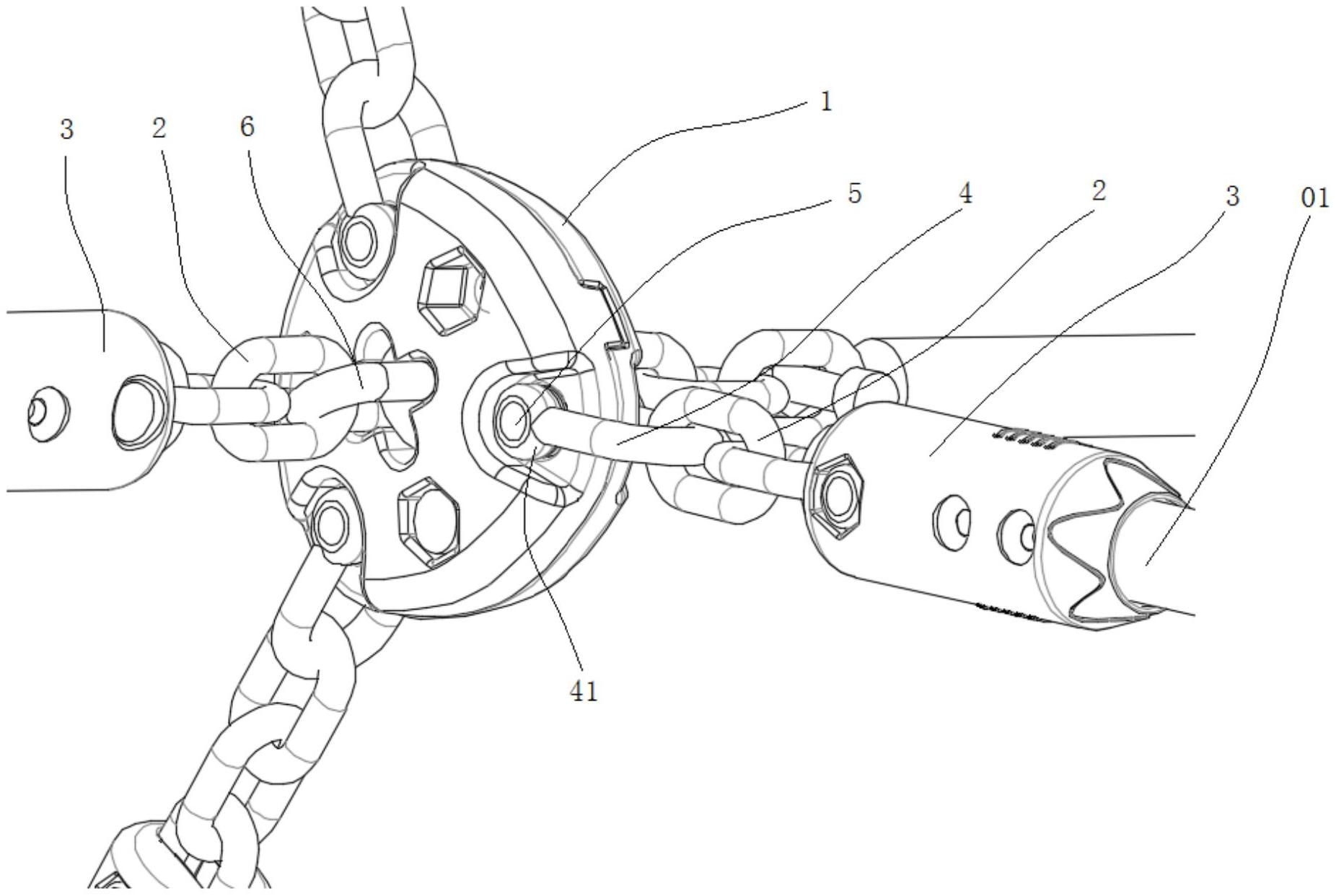
本申请公开了一种多绳索具,包括转向盘和多个分散设于转向盘的绳连接件;任一绳连接件的一端设有与转向盘铰接的链条、另一端具有用于卡紧绳子的绳端的绳连接扣。该多绳索具可以将多根绳子连接于同一转向盘。使用该多绳索具时,绳子和转向盘之间设有链条和绳连接扣,改变了绳子的连接方式,即无需对绳子打结,也延长了不同绳子的连接点的间距,因此,多根绳子的连接位置不会彼此干涉,同时链条能够提高绳子的运动灵活度和连接强度,避免绳子的连接位置摩擦受损,此外,转向盘有利于调整和约束不同绳子的延伸方向和活动范围,方便使用者梳理和更换绳子。


