授权公布号:CN213927088U
一种组合铝柱
有效
申请
2020-11-12
申请公布
1970-01-01
授权
2021-08-10
预估到期
2030-11-12
| 申请号 | CN202022604866.7 |
| 申请日 | 2020-11-12 |
| 授权公布号 | CN213927088U |
| 授权公告日 | 2021-08-10 |
| 分类号 | E04C3/36 |
| 分类 | 建筑物; |
| 申请人名称 | 华夏游乐有限公司 |
| 申请人地址 | 浙江省温州市永嘉县桥下镇垟塆工业区园区路 |
专利法律状态
2021-08-10
授权
状态信息
授权
摘要
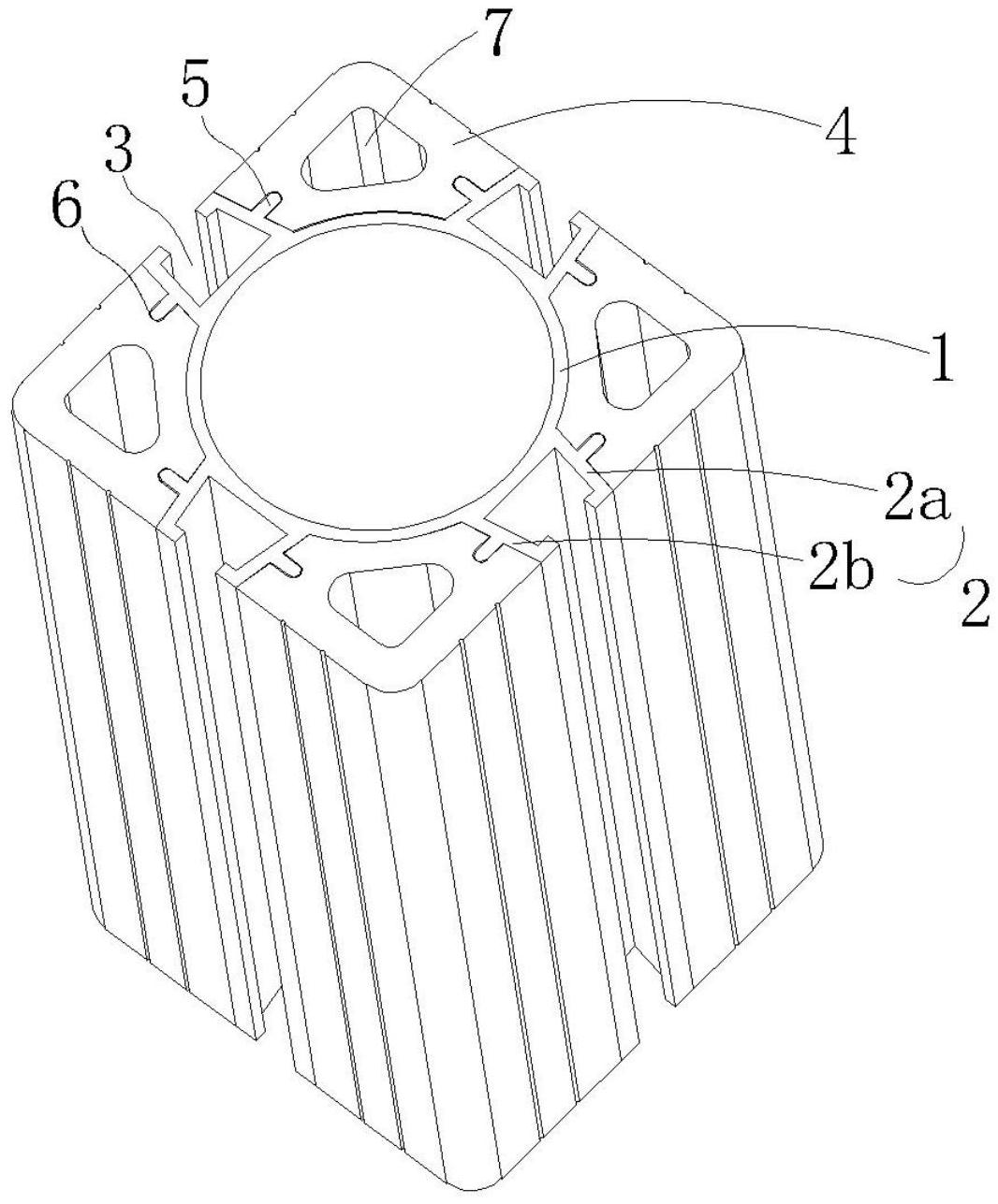
本实用新型提供了一种组合铝柱,其特征在于,包括铝骨架,所述铝骨架包括主骨架以及安装骨架,所述主骨架为圆柱空心结构,所述安装骨架沿主骨架均匀设置,所述安装骨架为一侧具有开口的空心结构,其空心部分形成安装槽,所述安装骨架之间设置有柱体,所述柱体与所述安装骨架为卡接。本实用新型采用铝骨架与塑钢木构成截面为正方形的立柱,其中主骨架的圆柱空心的结构,并且在立柱上形成安装槽,横杆端部由拉模螺丝固定安装在安装槽内,两者之间的接缝位于安装槽内,不会刮伤游玩儿童的皮肤,使用安全,且等腰梯形的安装槽,强度和结构都有了一定的提升。


