授权公布号:CN213823431U
一种跌落式激流勇进类设备挡船器结构
有效
申请
2020-09-15
申请公布
1970-01-01
授权
2021-07-30
预估到期
2030-09-15
| 申请号 | CN202022015754.8 |
| 申请日 | 2020-09-15 |
| 授权公布号 | CN213823431U |
| 授权公告日 | 2021-07-30 |
| 分类号 | A63G31/00 |
| 分类 | 运动;游戏;娱乐活动; |
| 申请人名称 | 北京实宝来游乐设备有限公司 |
| 申请人地址 | 北京市朝阳区酒仙桥乙21号佳丽饭店二层C007室 |
专利法律状态
2021-07-30
授权
状态信息
授权
摘要
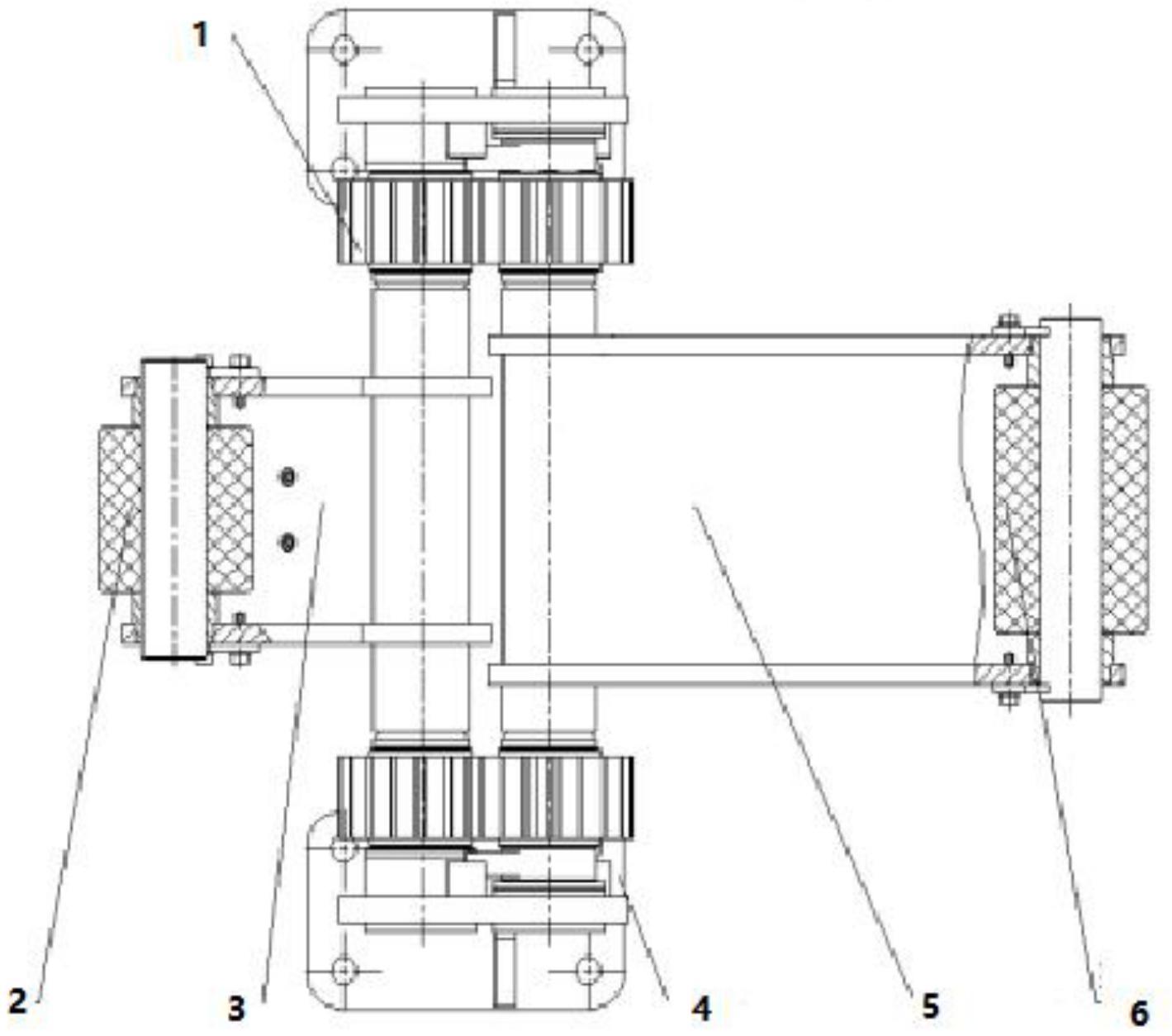
本实用新型公开了一种跌落式激流勇进类设备挡船器结构,该挡船器结构包括支架、杠杆臂、挡船臂、两根齿轮轴、四个齿轮、弹簧装置、撞击滚轮和辅助滚轮;四个齿轮分别连接于两根齿轮轴两端;两根齿轮轴,其用来穿过所述支架的侧壁而并列的水平设置在支架内,且分别通过所述齿轮啮合连接;杠杆臂的一端和挡船臂的一端分别固定连接于两根齿轮轴上;撞击滚轮连接于杠杆臂的另一端;辅助滚轮连接于挡船臂的另一端。该挡船器结构控制便捷、制造成本低、安全性能高,能有效防止设备运行过程中事故发生,在提高设备安全性能方面起着非常重要的作用。


