授权公布号:CN107185247B
大型过山车的列车抓取机构
有效
申请
2017-06-02
申请公布
2017-09-22
授权
2024-01-26
预估到期
2037-06-02
| 申请号 | CN201710408371.7 |
| 申请日 | 2017-06-02 |
| 申请公布号 | CN107185247A |
| 申请公布日 | 2017-09-22 |
| 授权公布号 | CN107185247B |
| 授权公告日 | 2024-01-26 |
| 分类号 | A63G21/04 |
| 分类 | 运动;游戏;娱乐活动; |
| 申请人名称 | 北京实宝来游乐设备有限公司 |
| 申请人地址 | 北京市朝阳区北岗子环里甲19号 |
专利法律状态
2024-01-26
授权
状态信息
授权
2017-10-24
实质审查的生效
状态信息
实质审查的生效;IPC(主分类):A63G21/04;申请日:20170602
2017-09-22
公布
状态信息
公布
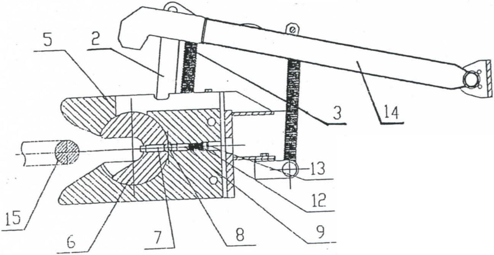
摘要
本发明大型过山车的列车抓取机构为游乐设备。以使转块转动,其车体与勾头及转轴、勾头与护板固定,转轴与活支撑活连接,活支撑下边伸出的端头与转轮通过轴销活连接,活支撑伸出的上边中间位置与一根拉簧一端、一根拉簧另一端与车体固定,活支撑伸出的上边靠端头位置与另一根拉簧一端、另一根拉簧另一端与护板固定,活支撑伸出的上边靠端头位置与拉杆上端的勾端、拉杆下端与拉块通过轴销活连接,拉块由螺丝通过护板滑槽与转块固定,转块放勾头圆形U形槽内且转动活连接,转块通孔与滑销及球、勾头通孔与球及顶销滑动活连接,勾头通孔中的顶销后端放压簧,勾头通孔中的压簧后端与螺丝螺纹连接,转块U形槽内放挂件。为抓取机构。结构巧、效果好。


