授权公布号:CN217859048U
铁板裁切自动收集装置
有效
申请
2022-06-17
申请公布
1970-01-01
授权
2022-11-22
预估到期
2032-06-17
| 申请号 | CN202221534345.1 |
| 申请日 | 2022-06-17 |
| 授权公布号 | CN217859048U |
| 授权公告日 | 2022-11-22 |
| 分类号 | B23D33/00;B23Q7/00 |
| 分类 | 机床;不包含在其他类目中的金属加工; |
| 申请人名称 | 岩谷气具(珠海)有限公司 |
| 申请人地址 | 广东省珠海市国家高新技术产业开发区金鼎北沙河头埔92号 |
专利法律状态
2022-11-22
授权
状态信息
授权
摘要
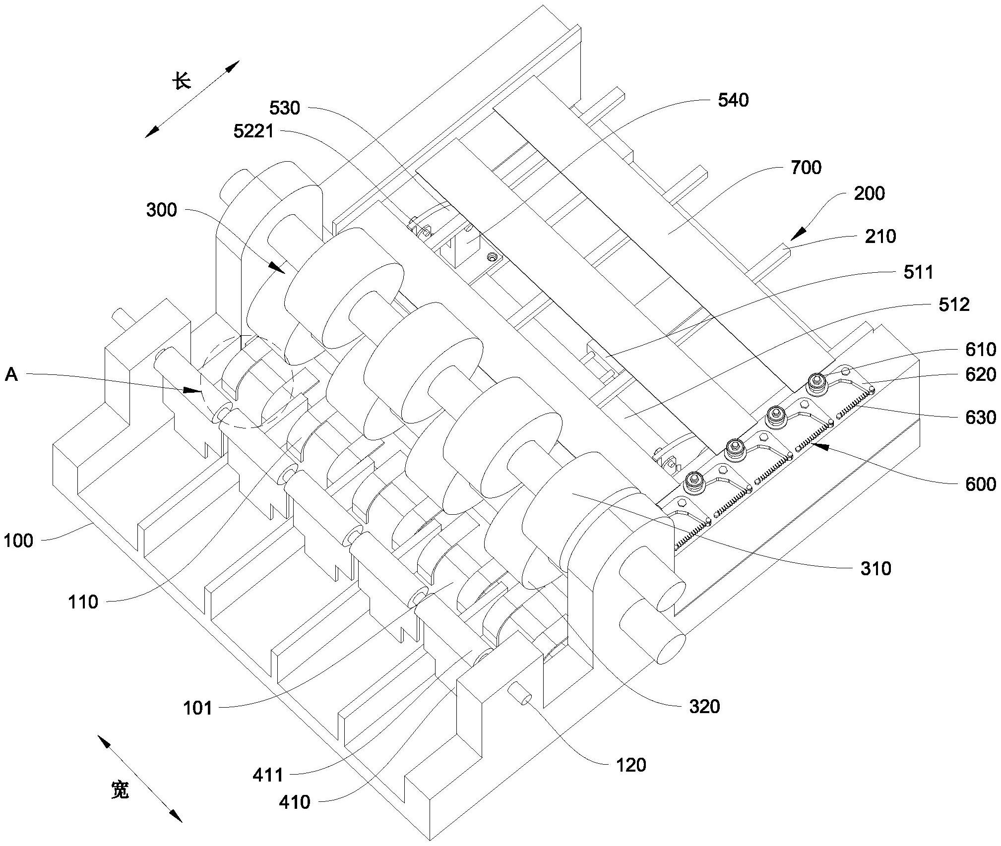
本实用新型公开了铁板裁切自动收集装置,包括:基座,基座设置有存板腔;输送线,设置于基座,输送线用于输送铁板;刀具组件,设置于基座并位于输送线的输出侧,刀具组件包括上刀体和下刀体,上刀体和下刀体配合以裁切铁板;阻挡板,转动设置于基座并位于存板腔的上方,阻挡板位于刀具组件背离输送线的一侧,以阻挡铁板并将铁板堆叠至存板腔。通过输送线输送铁板至刀具组件进行裁切,裁切后的铁板被设置于刀具组件背离输送线一侧的阻挡板阻挡,能够自动将裁切后的铁板堆叠至存板腔,且阻挡板转动设置于基座,减少对铁板的冲击,从而减少厚度较小的铁板由于冲击发生的变形量。


