授权公布号:CN217858499U
冲压边料回收装置
有效
申请
2022-06-22
申请公布
1970-01-01
授权
2022-11-22
预估到期
2032-06-22
| 申请号 | CN202221578681.6 |
| 申请日 | 2022-06-22 |
| 授权公布号 | CN217858499U |
| 授权公告日 | 2022-11-22 |
| 分类号 | B21D43/20;B21D43/09;B24B29/06;B24B41/00 |
| 分类 | 基本上无切削的金属机械加工;金属冲压; |
| 申请人名称 | 岩谷气具(珠海)有限公司 |
| 申请人地址 | 广东省珠海市国家高新技术产业开发区金鼎北沙河头埔92号 |
专利法律状态
2022-11-22
授权
状态信息
授权
摘要
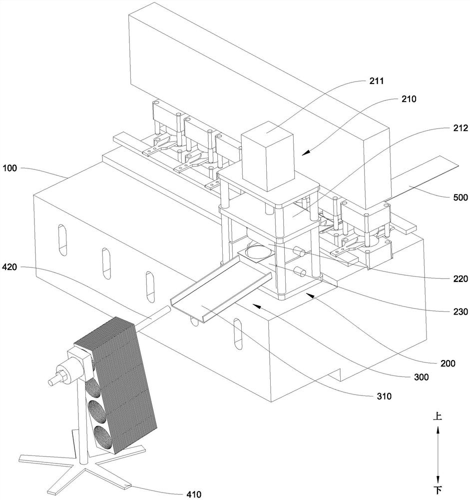
本实用新型公开了冲压边料回收装置,包括:基座,基座设有用于输送呈长条状的板料的送料区域和用于冲减板料的冲压区域;送料区域包括分别位于冲压区域两侧的原料输送区域和边料输送区域;压平抛光机构,设于边料输送区域,压平抛光机构包括第一压辊和第二压辊,第一压辊和第二压辊之间形成对板料进行压平抛光处理的压平抛光通道;下料机构,安装于基座,下料机构设于边料输送区域背离原料输送区域的一侧,下料机构用于输送板料。第一压辊和第二压辊配合对板料冲压后形成的边料进行压平和抛光处理,便于边料的后续使用,提高边料的利用率,另外,下料机构能够输出处理后的边料,避免堵塞压平抛光通道。


