授权公布号:CN215853957U
封罐下盖自动分离装置
有效
申请
2021-07-29
申请公布
1970-01-01
授权
2022-02-18
预估到期
2031-07-29
| 申请号 | CN202121756383.7 |
| 申请日 | 2021-07-29 |
| 授权公布号 | CN215853957U |
| 授权公告日 | 2022-02-18 |
| 分类号 | B65G59/06;B65G47/74;B65G15/00 |
| 分类 | 输送;包装;贮存;搬运薄的或细丝状材料; |
| 申请人名称 | 岩谷气具(珠海)有限公司 |
| 申请人地址 | 广东省珠海市国家高新技术产业开发区金鼎北沙河头埔92号 |
专利法律状态
2022-02-18
授权
状态信息
授权
摘要
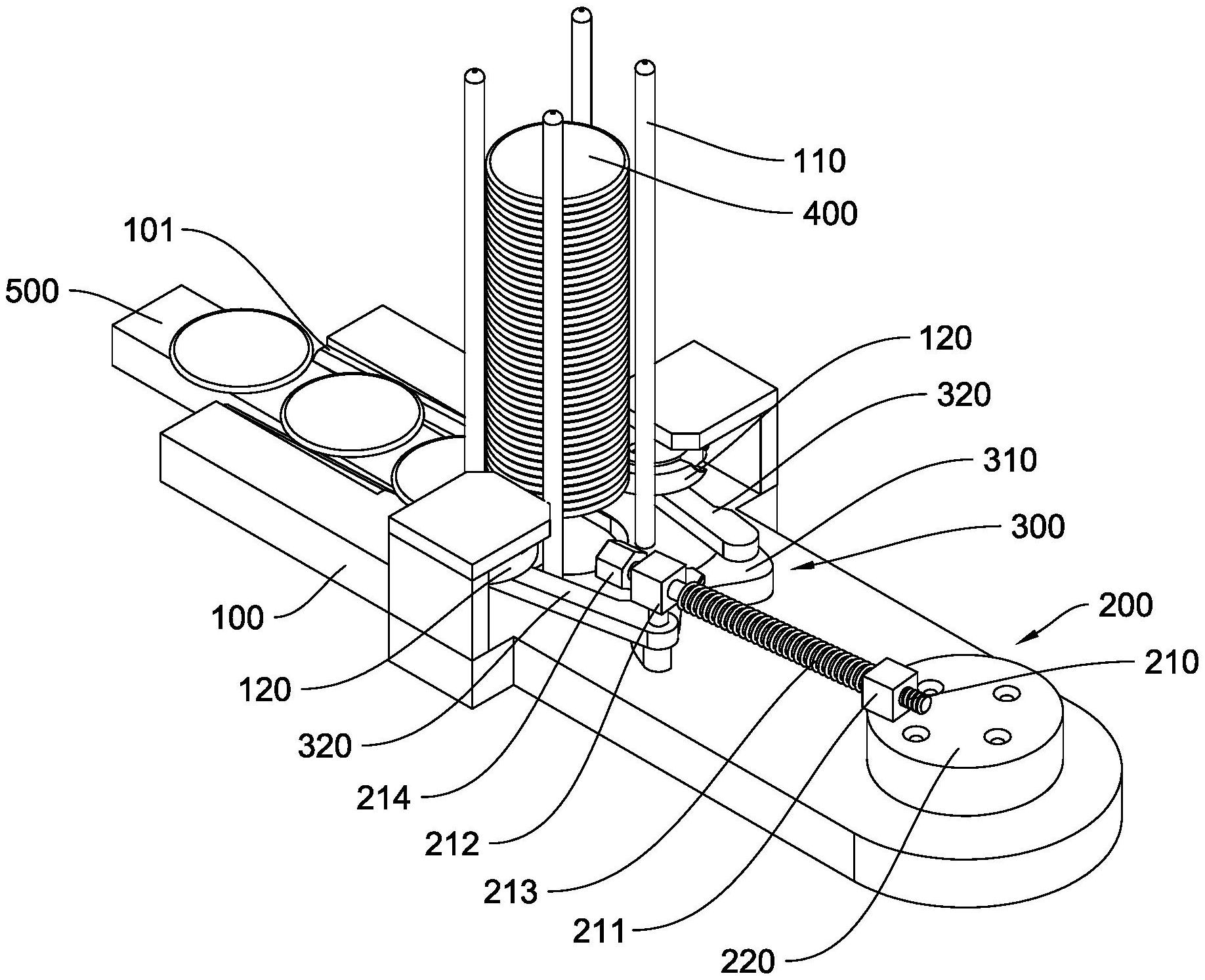
本实用新型公开了一种封罐下盖自动分离装置,包括:底板,用于堆叠封罐下盖;多根限位杆,固定安装在底板上,多根限位杆沿封罐下盖的周向布置;两个分盖刀,转动设置在底板上,分盖刀设置有分离槽,分离槽设置为与封罐下盖的外周面相配合;驱动机构,安装于底板,驱动机构包括驱动杆和驱动轮,驱动轮与驱动杆连接并驱动驱动杆往复运动;转动机构,安装于底板,转动机构包括转盘和位于转盘两边的拉杆,转盘与拉杆铰接,转盘连接于驱动杆,拉杆连接于分盖刀。底板上的两个分盖刀在驱动机构和转动机构下进行转动,分盖刀上的分离槽将堆叠的封罐下盖自动分离,提高气罐加工中的自动化程度。


