授权公布号:CN215698332U
钢板自动裁切装置
有效
申请
2021-07-29
申请公布
1970-01-01
授权
2022-02-01
预估到期
2031-07-29
| 申请号 | CN202121756246.3 |
| 申请日 | 2021-07-29 |
| 授权公布号 | CN215698332U |
| 授权公告日 | 2022-02-01 |
| 分类号 | B23D15/08;B23D33/02;B21D43/02;B21D43/12;B21D45/06 |
| 分类 | 机床;不包含在其他类目中的金属加工; |
| 申请人名称 | 岩谷气具(珠海)有限公司 |
| 申请人地址 | 广东省珠海市国家高新技术产业开发区金鼎北沙河头埔92号 |
专利法律状态
2022-02-01
授权
状态信息
授权
摘要
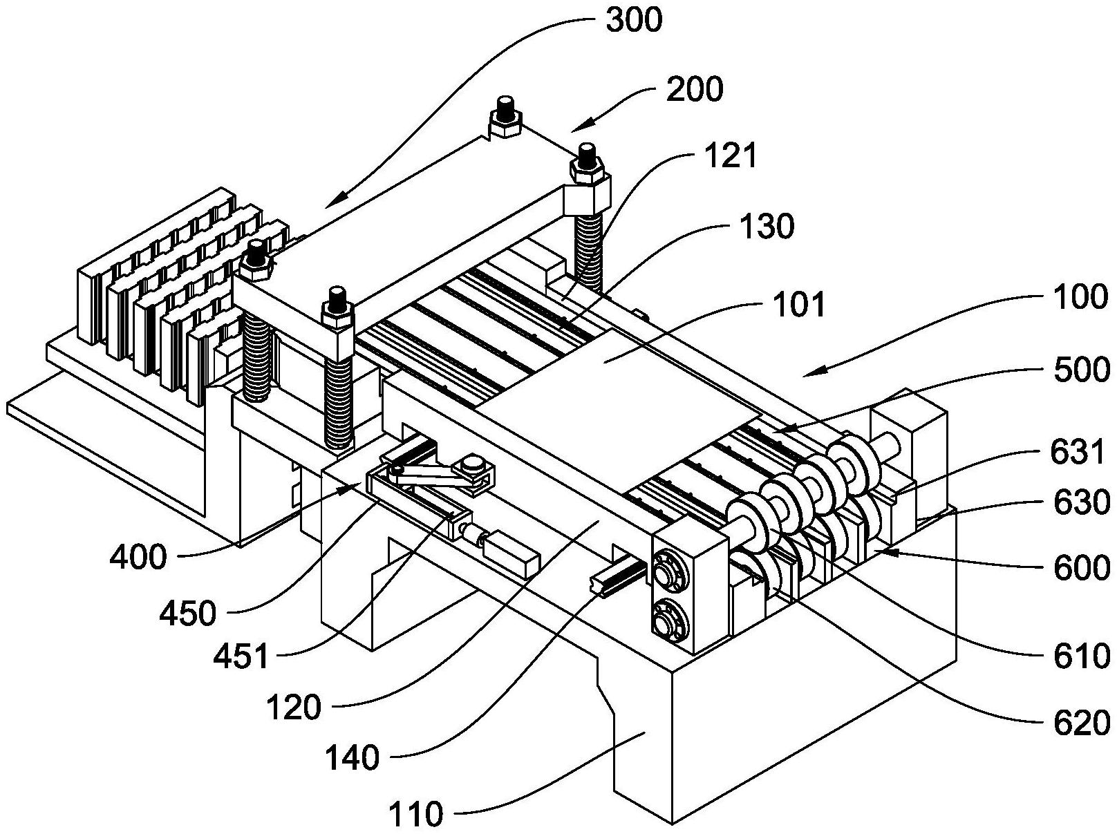
本实用新型公开了一种钢板自动裁切装置,包括:输送单元,用于输送钢板,输送单元包括底座、送料台和输送带,送料台活动连接在底座上,输送带活动连接在送料台上;剪板单元,设置于输送带的输出端,剪板单元包括上刀模和下刀模,上刀模设置为相对下刀模直线运动,下刀模的外形设置为波形,上刀模设置为与下刀模的外形相配合;下料单元,对接剪板单元,下料单元包括下料板,下料板倾斜设置在下刀模的前方。钢板通过输送单元、剪板单元和下料单元,自动完成裁切。同时,由于上刀模和下刀模的波形设置,裁剪后的钢板能直接投入到下一工序的使用,有效降低加工成本,节省原材料,提高效率。


