授权公布号:CN107482738B
一种充气球体的智能充电结构
有效
申请
2017-09-29
申请公布
2017-12-15
授权
2023-06-27
预估到期
2037-09-29
| 申请号 | CN201710907553.9 |
| 申请日 | 2017-09-29 |
| 申请公布号 | CN107482738A |
| 申请公布日 | 2017-12-15 |
| 授权公布号 | CN107482738B |
| 授权公告日 | 2023-06-27 |
| 分类号 | H02J7/00;F16K24/06 |
| 分类 | 发电、变电或配电; |
| 申请人名称 | 简极科技有限公司 |
| 申请人地址 | 福建省厦门市中国(福建)自由贸易试验区厦门片区华昌路132号C1楼6K、6L单元 |
专利法律状态
2023-06-27
授权
状态信息
授权
2018-01-09
实质审查的生效
状态信息
实质审查的生效;IPC(主分类):H02J7/00;申请日:20170929
2017-12-15
公布
状态信息
公布
摘要
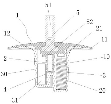
本发明涉及智能制造技术领域,具体涉及充气球体的内胆内嵌的智能充电结构,包括包括一安装壳体,所述安装壳体内设有至少两个空腔,至少两个空腔设置在安装壳体内部,其中,所述至少两个空腔内设有充电连接器、电池和PCB电路板,所述至少两个空腔之间设有过线孔,安装壳体上方设有一塞体,所述塞体与空腔顶部紧抵配合,所述塞体内设有一充电通道,充电接口通过所述充电通道与充电连接器电性连接,所述充电连接器通过导线与电池电性连接,所述电池为PCB电路板供电。本发明提高能够用插拔式充电芯接入充电通道搭配稳固的充电容腔结构,保证充电的便利性的同时还能够有效保护内部电子元器件在高强度大负荷使用环境下的安全性和稳定性。


