授权公布号:CN115505651B
一种篮球生产用皮革浸酸装置及方法
有效
申请
2022-09-20
申请公布
2022-12-23
授权
2023-10-20
预估到期
2042-09-20
| 申请号 | CN202211143689.4 |
| 申请日 | 2022-09-20 |
| 申请公布号 | CN115505651A |
| 申请公布日 | 2022-12-23 |
| 授权公布号 | CN115505651B |
| 授权公告日 | 2023-10-20 |
| 分类号 | C14C1/08;C14C3/02;C14C15/00;A63B45/00 |
| 分类 | 小原皮;大原皮;毛皮;皮革; |
| 申请人名称 | 南京哈恩达斯体育用品有限公司 |
| 申请人地址 | 江苏省南京市溧水区柘塘工业园 |
专利法律状态
2023-10-20
授权
状态信息
授权
2023-01-10
实质审查的生效
状态信息
实质审查的生效;IPC(主分类):C14C1/08;申请日:20220920
2022-12-23
公布
状态信息
公布
摘要
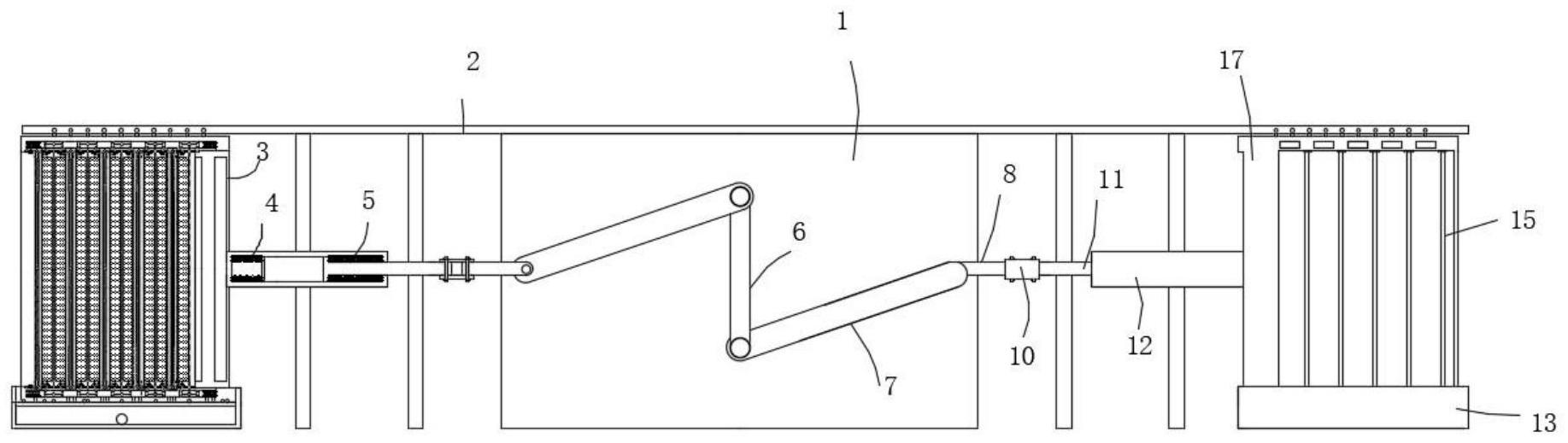
本发明涉及篮球生产领域,公开了一种篮球生产用皮革浸酸装置及方法,包括动力箱,其内部连接有辅助机构,所述辅助机构的动力输出端连接有传动曲轴;传动机构,其一端与传动曲轴转动连接,另一端传动连接有推板;回收箱,其放置在地面上,其上连接有与推板相配合的处理机构,本发明,可以快速的使得毛皮内部浸渍到原料,实现快速稳定的鞣酸工作,并且多个装置之间可以相互独立工作,之间并不影响,可以方便后续加料以及卸料的工作,方便整个工作的进行,进一步的提高整体工作的效率。


