授权公布号:CN110384893B
腰脊柱康复训练器
有效
申请
2019-07-12
申请公布
2019-10-29
授权
2024-01-12
预估到期
2039-07-12
| 申请号 | CN201910629967.9 |
| 申请日 | 2019-07-12 |
| 申请公布号 | CN110384893A |
| 申请公布日 | 2019-10-29 |
| 授权公布号 | CN110384893B |
| 授权公告日 | 2024-01-12 |
| 分类号 | A63B23/02 |
| 分类 | 运动;游戏;娱乐活动; |
| 申请人名称 | 山东英吉多健康产业有限公司 |
| 申请人地址 | 山东省青岛市即墨天山二路6号 |
专利法律状态
2024-01-12
授权
状态信息
授权
2019-11-22
实质审查的生效
状态信息
实质审查的生效;IPC(主分类):A63B23/02;申请日:20190712
2019-10-29
公布
状态信息
公布
摘要
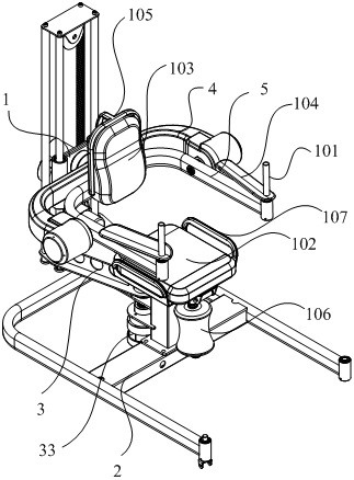
本发明公开了一种腰脊柱康复训练器,包括:底座;升降组件;第一转动组件,具有第一转动部件和第一转轴,第一转动部件通过第一转轴可转动的安装在底座上;第二转动组件,具有第二转动部件和第二转轴,第二转动部件通过第二转轴可转动的安装在升降组件上,升降组件用于带动第二转动组件相对于第一转动组件上下移动;第三转动组件,具有第三转动部件和第三转轴,第三转动部件通过第三转轴可转动的安装在第二转动部件上;其中,第一转轴、第二转轴和第三转轴相互交错设置。实现锻炼部位的高度位置可以调节,以有效的针对不同高度位置的脊柱进行锻炼,优化锻炼效果,提高了脊柱康复训练器的运动者体验性。


