授权公布号:CN213859072U
一种拉力器弹力软管辅助装配装置
有效
申请
2020-10-23
申请公布
1970-01-01
授权
2021-08-03
预估到期
2030-10-23
| 申请号 | CN202022384535.7 |
| 申请日 | 2020-10-23 |
| 授权公布号 | CN213859072U |
| 授权公告日 | 2021-08-03 |
| 分类号 | B25B27/10 |
| 分类 | 手动工具;轻便机动工具;手动器械的手柄;车间设备;机械手; |
| 申请人名称 | 浙江省义乌市长缨体育用品有限公司 |
| 申请人地址 | 浙江省金华市义乌市佛堂镇塔山路166号 |
专利法律状态
2021-08-03
授权
状态信息
授权
摘要
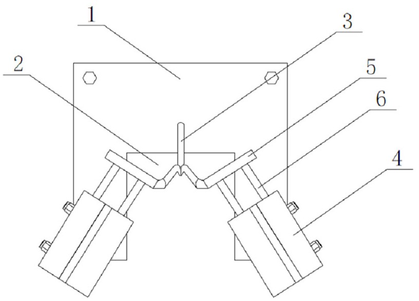
本实用新型公开了一种拉力器弹力软管辅助装配装置,包括一台板,所述台板中设置有一贯穿其上下的通口,所述通口中设置有至少三根能够以一中心聚拢和散开的撑杆,其中一根撑杆固定设置于所述台板上为定杆,剩余几根撑杆均活动设置于所述台板上为动杆,这些所述动杆分别通过一水平平移机构设置在所述台板上。本实用新型通过将拉力器弹力软管的端口套在以一中心聚拢的多根撑杆外,当然这多根撑杆聚拢后的直径远小于弹力软管的端口,方便人工套入,然后这几根撑杆以该中心散开后即把弹力软管的端口撑大,从而方便直径大于弹力软管端口的连接柱头插入,省时省力,从而提升弹力软管的装配效率。


