授权公布号:CN213397950U
一种拉力器弹力软管弹力疲劳测试器
有效
申请
2020-10-23
申请公布
1970-01-01
授权
2021-06-08
预估到期
2030-10-23
| 申请号 | CN202022386889.5 |
| 申请日 | 2020-10-23 |
| 授权公布号 | CN213397950U |
| 授权公告日 | 2021-06-08 |
| 分类号 | G01N3/08;G01N3/02;G01M13/00 |
| 分类 | 测量;测试; |
| 申请人名称 | 浙江省义乌市长缨体育用品有限公司 |
| 申请人地址 | 浙江省金华市义乌市佛堂镇塔山路166号 |
专利法律状态
2021-06-08
授权
状态信息
授权
摘要
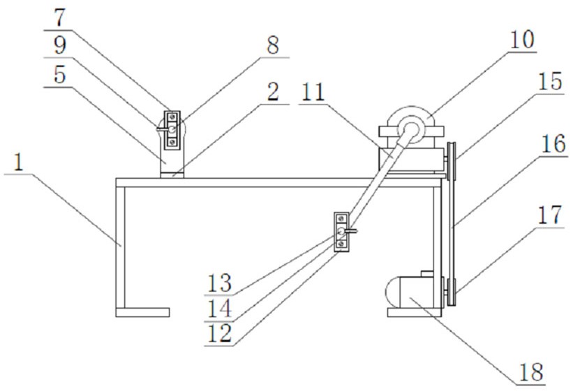
本实用新型公开了一种拉力器弹力软管弹力疲劳测试器,包括一机架,所述机架上设置有一对间距分离布置的定拉杆和动拉杆,所述动拉杆设置于一旋转杆的其中一端上,所述旋转杆的另一端设置于一驱动其旋转的动力机构上,所述定拉杆位于所述动拉杆旋转的圆周轨迹平面上。本实用新型采用一定拉杆和一动拉杆来模拟两只手从两端分别抓牢一个拉力器的握柄,然而让旋转杆带动动拉杆以其为半径转起来,模拟出拉力器的拉伸动作,转一周即为拉伸一次。接着多次试验得出一分钟旋转杆能够转动几圈,然后只要得到从起始到弹力软管崩断的测试总时间,用这个测试总时间去乘以一分钟的转动圈数,即可以得到该批次弹力软管的拉伸疲劳性能。


