授权公布号:CN219681630U
红外式仰卧起坐检测装置
有效
申请
2023-02-28
申请公布
1970-01-01
授权
2023-09-15
预估到期
2033-02-28
| 申请号 | CN202320447661.3 |
| 申请日 | 2023-02-28 |
| 授权公布号 | CN219681630U |
| 授权公告日 | 2023-09-15 |
| 分类号 | A63B71/06;A63B23/02 |
| 分类 | 运动;游戏;娱乐活动; |
| 申请人名称 | 深圳市培林体育科技有限公司 |
| 申请人地址 | 广东省深圳市宝安区福海街道新和社区福园一路35号B区B4栋厂房301 |
专利法律状态
2023-09-15
授权
状态信息
授权
摘要
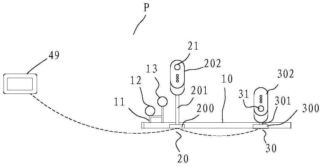
本实用新型公开了一种红外式仰卧起坐检测装置,包括底板,还包括设于底板侧边的上部立板、下部立板,上部立板设有上部红外传感器,用于检测头部和上身移动至下肢的位置,下部立板设有下部红外传感器,用于检测上身处于平躺位置的状态;底板近于上部立板的一端设有竖杆,及设于竖杆的脚部横压杆,以压住脚部。本实用新型采用上部立板和下部立板,以及上部红外传感器、下部红外传感器,可以检测仰卧起坐的次数,达到检测的目的,可以当作考试设备来使用。还设有脚部横压杆,以压住脚部,可以起到辅助的作用。还采用了中部红外传感器,可以用于检测学生或运动员在上半身处于半悬空状态的练习或考试进行检测计数,用于腹部持久力的练习或考试。


