授权公布号:CN212500956U
一种双气囊气胀救生衣
有效
申请
2020-05-13
申请公布
1970-01-01
授权
2021-02-09
预估到期
2030-05-13
| 申请号 | CN202020784868.6 |
| 申请日 | 2020-05-13 |
| 授权公布号 | CN212500956U |
| 授权公告日 | 2021-02-09 |
| 分类号 | B63C9/125; |
| 分类 | 船舶或其他水上船只;与船有关的设备; |
| 申请人名称 | 嘉兴市荣盛救生设备有限公司 |
| 申请人地址 | 浙江省嘉兴市秀洲区王店镇姚家路159号 |
专利法律状态
2021-02-09
授权
状态信息
授权
摘要
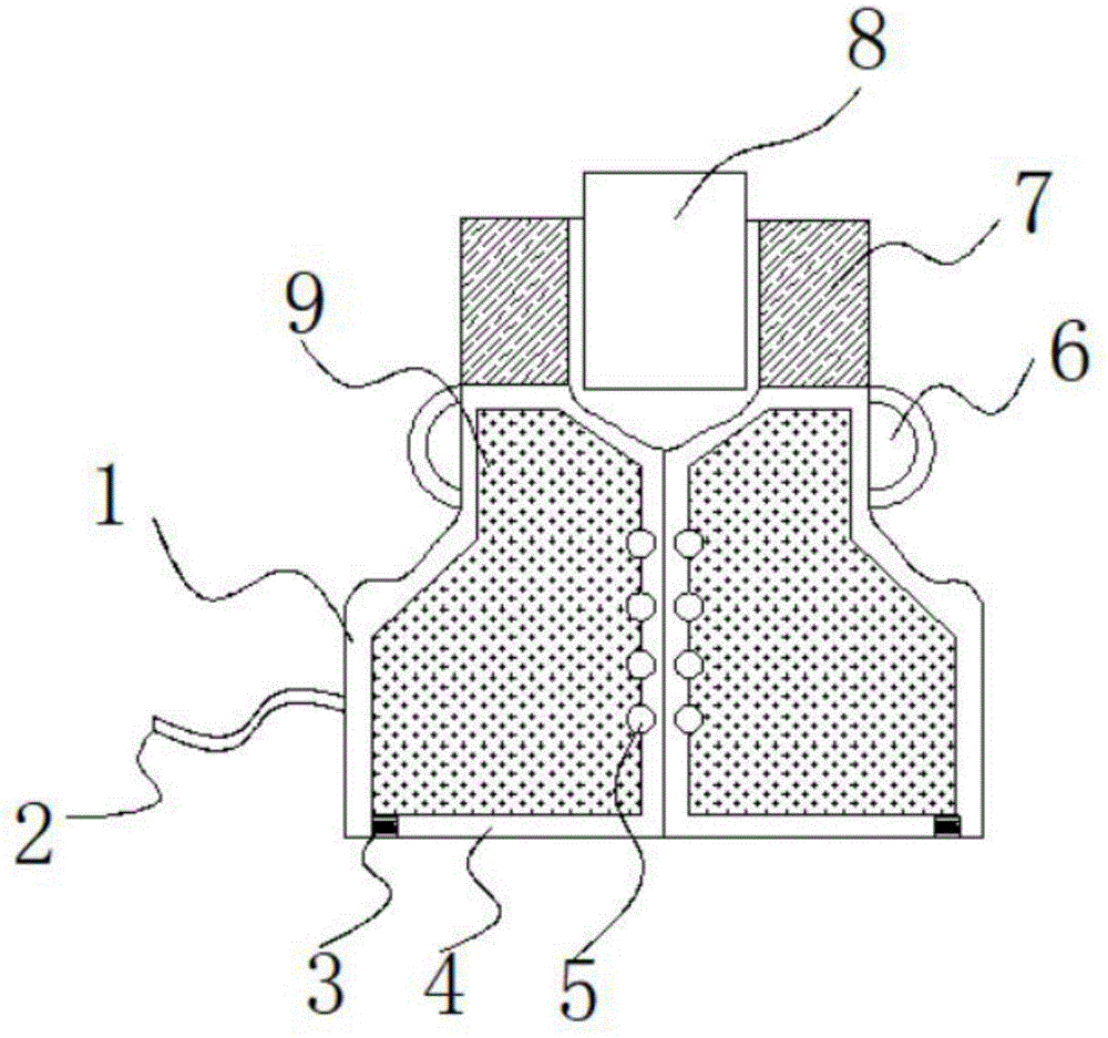
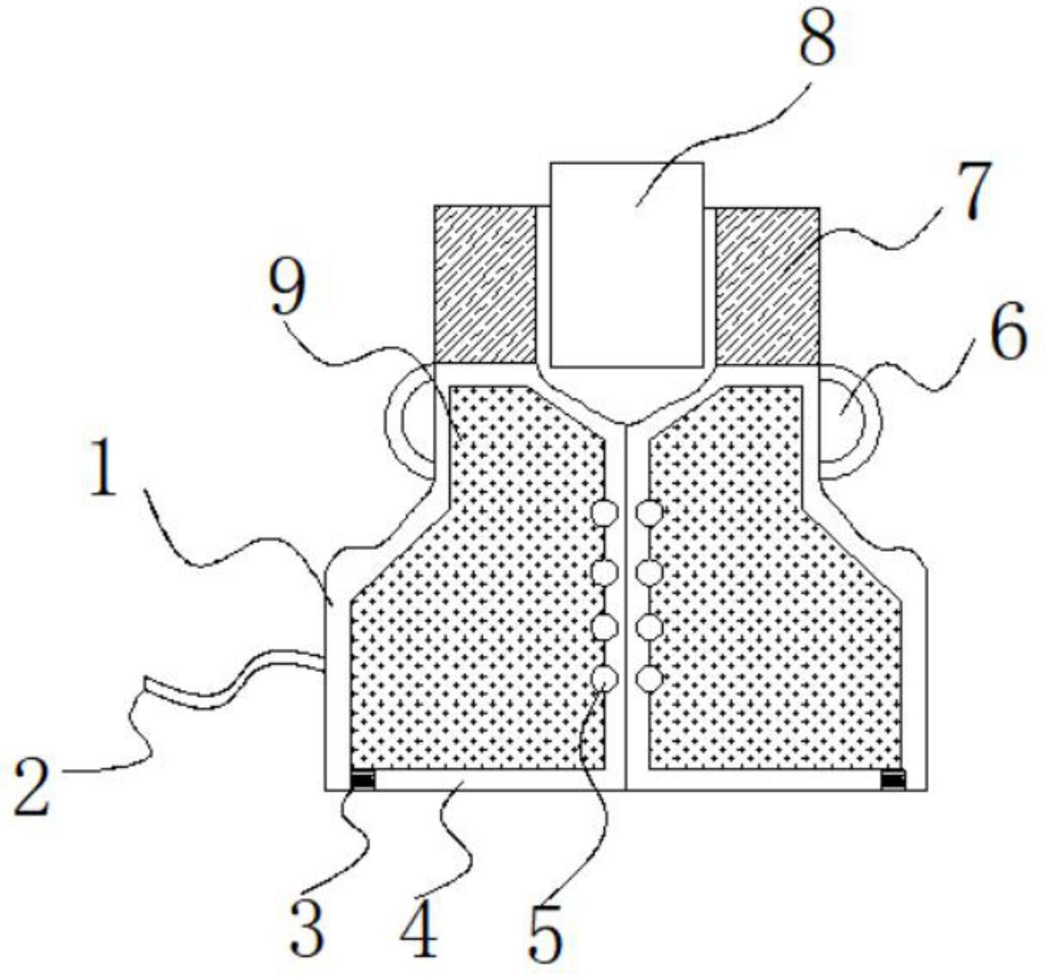
本实用新型公开了一种双气囊气胀救生衣,属于救生技术领域,包括壳体和控制开关,所述壳体内侧镶嵌有气囊,所述气囊为两组,且两组所述气囊以壳体为中心呈镜像设置,所述气囊底部分别配合连接有气压泵,所述壳体外侧壁中部固定连接有纽扣,所述壳体顶部外侧镶嵌连接有太阳能电板,所述太阳能电板信号输出端连接微型逆变器信号接收端,所述壳体顶部镶嵌连接有头框,太阳能板吸收太阳能通过微型逆变器把直流电能转变成交流电,即将太阳能转化为电能储存在蓄电池内,当落入水中时,通过微型逆变器电流输出端连接LED灯电流输入端,可为使用人员提供照明,以便于被搜救人员发现。


