授权公布号:CN209494594U
为空气呼吸器用电器提供电力的发电系统
有效
申请
2019-01-25
申请公布
1970-01-01
授权
2019-10-15
预估到期
2029-01-25
| 申请号 | CN201920131984.5 |
| 申请日 | 2019-01-25 |
| 授权公布号 | CN209494594U |
| 授权公告日 | 2019-10-15 |
| 分类号 | F01D15/10;F01D25/24 |
| 分类 | 一般机器或发动机;一般的发动机装置;蒸汽机; |
| 申请人名称 | 梅思安(中国)安全设备有限公司 |
| 申请人地址 | 江苏省苏州市工业园区瑞恩巷8号 |
专利法律状态
2019-10-15
授权
状态信息
授权
摘要
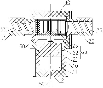
本实用新型公开了一种为空气呼吸器用电器提供电力的发电系统,包括:罩体,该罩体的中部具有上部开口、下部封闭的容置腔;发电机,该发电机包括有机身、旋转轴、叶轮,该旋转轴的下端部位于该机身内、上端竖直的延伸至该机身的上方,且该叶轮固定于该旋转轴上;套筒,该套筒的左部侧壁上设有中压进气管、右部侧壁上设有中压出气管;盖板;以及,该机身从上至下的卡在该容置腔内;该套筒下部固定在该罩体的上部,且该套筒套设在该叶轮的外部,该中压进气管和该中压出气管同轴心线,但是该中压进气管和该中压出气管的轴心线不相交于该旋转轴的轴心线;该盖板固定在该套筒的上部。本实用新型的优点是:能够为空气呼吸器实时提供电力。


