授权公布号:CN217191211U
一种酸奶桶装机清洗结构
有效
申请
2022-04-01
申请公布
1970-01-01
授权
2022-08-16
预估到期
2032-04-01
| 申请号 | CN202220737931.X |
| 申请日 | 2022-04-01 |
| 授权公布号 | CN217191211U |
| 授权公告日 | 2022-08-16 |
| 分类号 | B08B3/02;B08B13/00 |
| 分类 | 清洁; |
| 申请人名称 | 深圳市晨光乳业有限公司 |
| 申请人地址 | 广东省深圳市光明区光明街道华夏路48号 |
专利法律状态
2022-08-16
授权
状态信息
授权
摘要
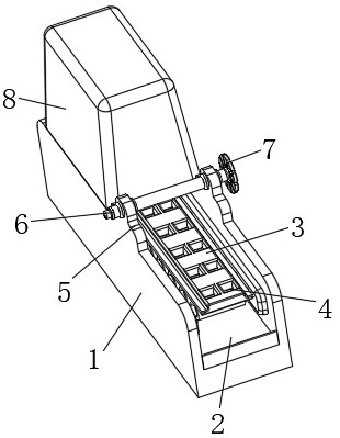
本实用新型公开了一种酸奶桶装机清洗结构,包括底座,所述底座的顶部固定安装有主控台,所述底座的内壁上固定安装有两组位置相对的链条盒,且两组链条盒之间固定套装有旋辊,所述底座的内侧装配有位于旋辊顶部的轨道板,所述底座的顶部固定安装有两组侧座,两组所述侧座之间装配有管体;该酸奶桶装机清洗结构,通过底座顶部管体的设置,能够通过其底部的喷孔的设置对轨道板及限位槽内侧上所遗留的奶渣进行清洗,配合上轴承套与旋柄的设置,能够通过旋动管体来增加其喷洒的范围与水流所喷溅的角度,从而达到对轨道板和限位槽上奶渣进行高效清洗的效果,解决了现有装置需要对轨道板进行拆卸清洗操作繁琐且效率较低的问题。


