授权公布号:CN217638412U
一种安全帽拉压试验机
有效
申请
2022-05-25
申请公布
1970-01-01
授权
2022-10-21
预估到期
2032-05-25
| 申请号 | CN202221275353.9 |
| 申请日 | 2022-05-25 |
| 授权公布号 | CN217638412U |
| 授权公告日 | 2022-10-21 |
| 分类号 | G01N3/10;G01N3/12;G01N3/04;G01N3/02 |
| 分类 | 测量;测试; |
| 申请人名称 | 北京慧缘有限责任公司 |
| 申请人地址 | 北京市密云区河南寨镇滨河工业开发区北京慧缘有限责任公司 |
专利法律状态
2022-10-21
授权
状态信息
授权
摘要
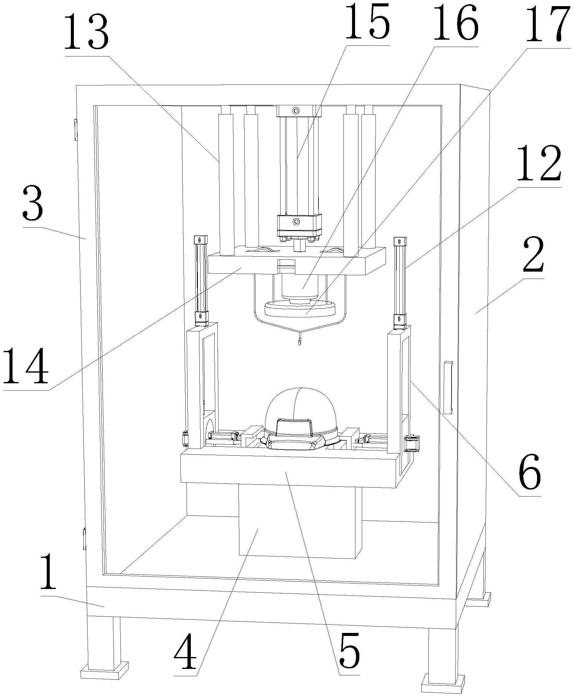
本实用新型涉及安全帽测试技术领域,特别是涉及一种安全帽拉压试验机,其包括操作台、液压缸A、安装板、压力计、定滑轮和挂钩。操作台上设置防护箱,操作台上设置支撑板,支撑板上设置横板,横板上对称设置两个支架,支架上滑动设置活动板,两侧活动板相互靠近的一侧均转动设置转盘,电机驱动连接转盘。转盘上设置伸缩杆A,伸缩杆A的活动杆端部设置夹板,液压缸A驱动连接夹板,液压缸B驱动连接活动板。防护箱的顶板底部设置液压缸C,液压缸C驱动连接安装板。压力计设置在安装板的底部,压力计的检测端设置压盘。压盘上对称设置两个缆绳,两侧缆绳均绕过定滑轮,且两侧缆绳连接同一个挂钩。本实用新型安全性能高,且操作简单方便。


