授权公布号:CN212266495U
一种安全帽全自动生产线
有效
申请
2020-04-15
申请公布
1970-01-01
授权
2021-01-01
预估到期
2030-04-15
| 申请号 | CN202020561239.7 |
| 申请日 | 2020-04-15 |
| 授权公布号 | CN212266495U |
| 授权公告日 | 2021-01-01 |
| 分类号 | B29C45/17 |
| 分类 | 塑料的加工;一般处于塑性状态物质的加工; |
| 申请人名称 | 北京慧缘有限责任公司 |
| 申请人地址 | 北京市密云区河南寨镇滨河工业开发区 |
专利法律状态
2021-01-01
授权
状态信息
授权
摘要
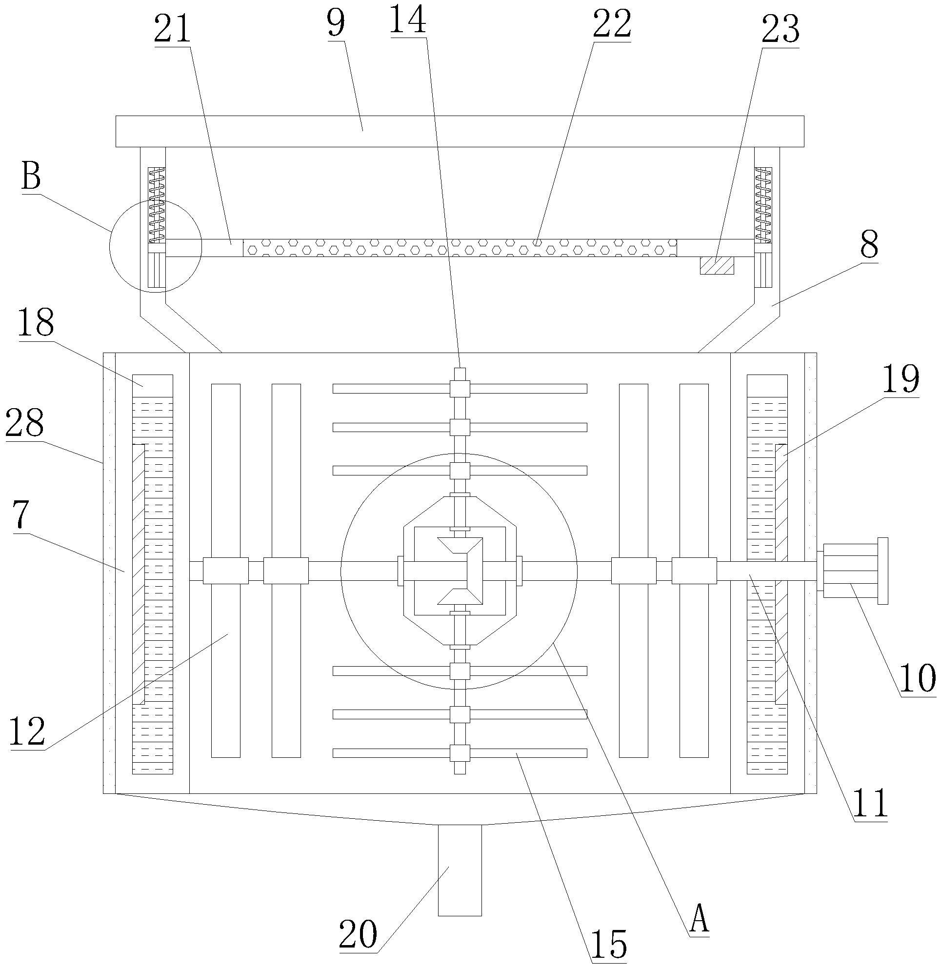
一种安全帽全自动生产线,包括原料混合设备、注塑成型设备、修边设备、喷漆设备、烘干设备和包装设备;其中,原料混合设备包括混合设备壳体、进料斗、盖板、驱动装置、第一转动件、固定件、加热装置、活动板、导向杆和弹性件;混合设备壳体上设有加热腔,底部设有出料管;加热腔内盛有导热液,加热装置设置于加热腔内;第一转动件设置于混合设备壳体内并穿过固定件,且驱动装置的输出端与第一转动件连接;第二转动件与固定件转动连接,且第一转动件与第二转动件传动连接;第一转动件上设置翻料件,第二转动件上设置搅拌件。本实用新型能够将原料混合均匀,显著提高了混合效率和混合效果,而且还具有筛选和预热的功能,功能多样,具有实用性。


