授权公布号:CN217615488U
一种安全帽生产用原料喷涂装置
有效
申请
2022-05-27
申请公布
1970-01-01
授权
2022-10-21
预估到期
2032-05-27
| 申请号 | CN202221286459.9 |
| 申请日 | 2022-05-27 |
| 授权公布号 | CN217615488U |
| 授权公告日 | 2022-10-21 |
| 分类号 | B05B13/02 |
| 分类 | 一般喷射或雾化;对表面涂覆液体或其他流体的一般方法〔2〕; |
| 申请人名称 | 北京慧缘有限责任公司 |
| 申请人地址 | 北京市密云区河南寨镇滨河工业开发区北京慧缘有限责任公司 |
专利法律状态
2022-10-21
授权
状态信息
授权
摘要
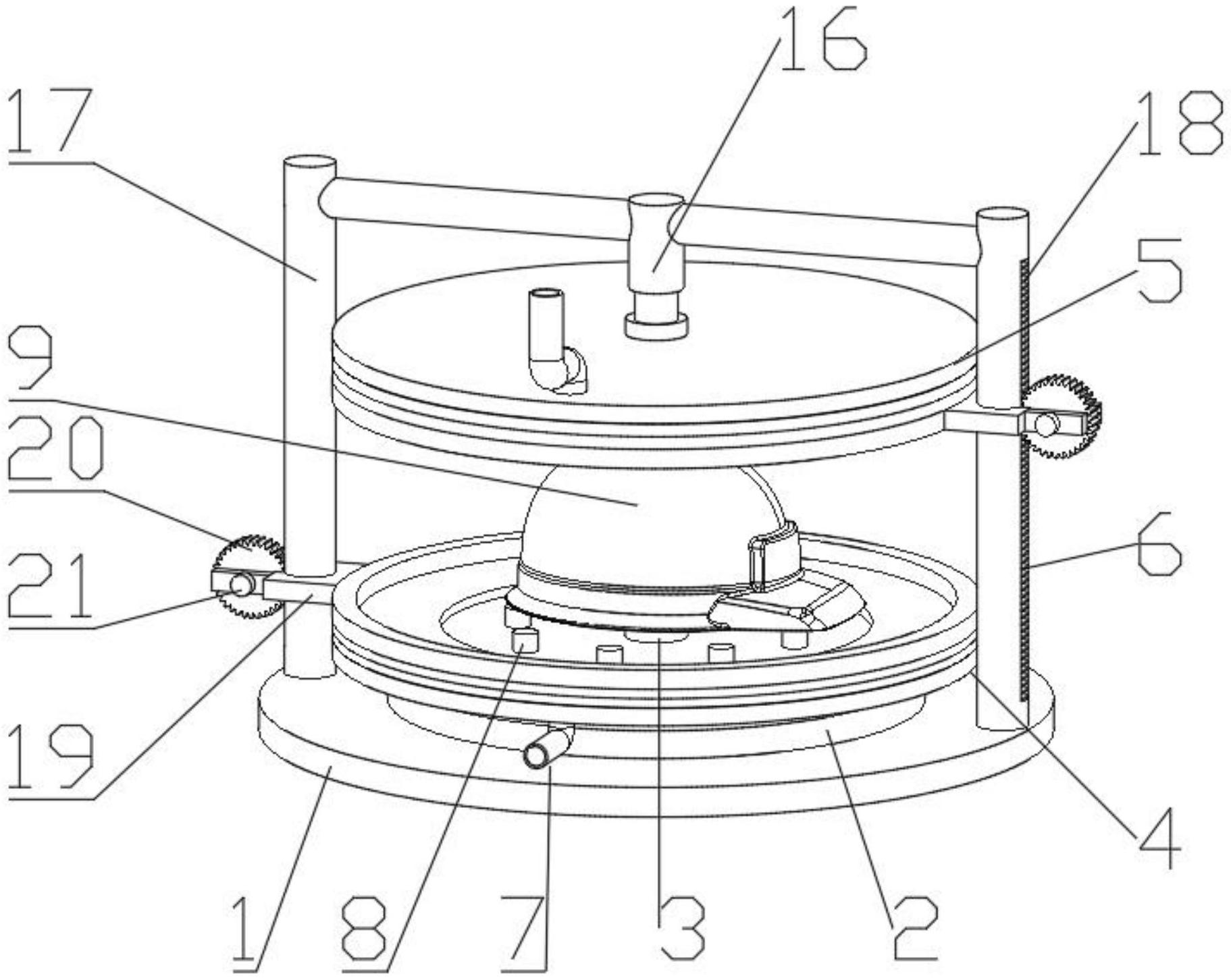
本实用新型涉及喷涂装置技术领域,尤其涉及一种安全帽生产用原料喷涂装置,包括机架、转动台、安全帽放置架、下喷涂组件、上喷涂组件、直线驱动组件、供料管、喷头、升降板和滑动架。本实用新型通过设置转动台、安全帽放置架、下喷涂组件、上喷涂组件、直线驱动组件、供料管、喷头、升降板和滑动架,将安全帽设置在安全帽放置架上,调节升降板的位置,使升降板运动至安全帽的上方;随后启动直线驱动组件,使设备在喷涂时,下喷涂组件的活动端和上喷涂组件的活动端接触,安全帽位于升降板、下喷涂组件和上喷涂组件所形成的密闭空间内;随后启动喷头,对安全帽进行喷涂;同时起到转动台,使安全帽相对于机架发生转动,进而实现安全帽的均匀喷涂。


