授权公布号:CN217199075U
牛奶包装盒自动喷气结构
有效
申请
2022-04-01
申请公布
1970-01-01
授权
2022-08-16
预估到期
2032-04-01
| 申请号 | CN202220737818.1 |
| 申请日 | 2022-04-01 |
| 授权公布号 | CN217199075U |
| 授权公告日 | 2022-08-16 |
| 分类号 | B65B61/24;B65B55/24 |
| 分类 | 输送;包装;贮存;搬运薄的或细丝状材料; |
| 申请人名称 | 深圳市晨光乳业有限公司 |
| 申请人地址 | 广东省深圳市光明区光明街道华夏路48号 |
专利法律状态
2022-08-16
授权
状态信息
授权
摘要
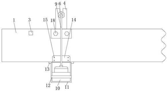
本实用新型公开了牛奶包装盒自动喷气结构,包括输送装置、支架板、喷管以及气泵,输送装置的外部设有支架板,支架板的内部安装喷管,输送装置的外侧设有放置框,放置框的内部放置气泵,喷管的尾部通过镶嵌的方式连接气管,气管的另一端通过镶嵌的方式连接气泵。该牛奶包装盒自动喷气结构通过在输送装置的侧面安装了喷管结合气泵等结构,解决了传统牛奶包装盒生产时没有对多余的水珠清理的问题,在输送装置的外侧设有气泵,这样当牛奶包装盒在输送装置上移动时,就可以利用喷管喷发出高压气体,由高压气体来对瓶身上的水珠等进行清理,实现了气体清理的效果,整体结构简单,大大提高了生产过程中的效率,保证后续产品喷码的质量,实用性较强。


