授权公布号:CN220191167U
一种观察窗结构及面板组件
有效
申请
2023-04-24
申请公布
1970-01-01
授权
2023-12-15
预估到期
2033-04-24
| 申请号 | CN202320938026.5 |
| 申请日 | 2023-04-24 |
| 授权公布号 | CN220191167U |
| 授权公告日 | 2023-12-15 |
| 分类号 | H05K5/02;H01H13/14 |
| 分类 | 其他类目不包含的电技术; |
| 申请人名称 | 石家庄通合电子科技股份有限公司 |
| 申请人地址 | 河北省石家庄市高新区漓江道350号 |
专利法律状态
2023-12-15
授权
状态信息
授权
摘要
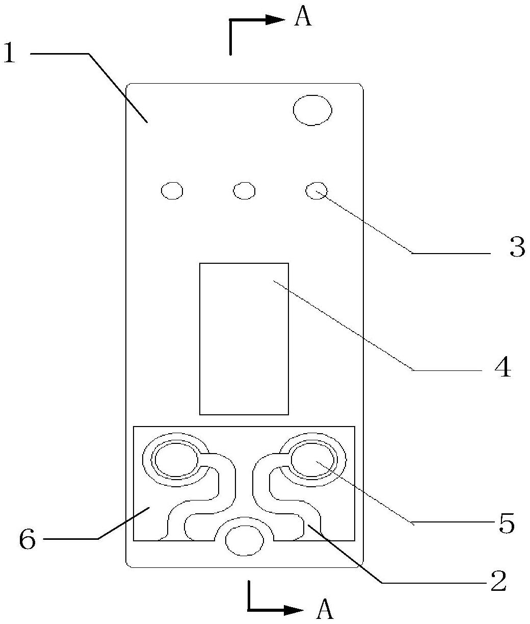
本实用新型提供了一种观察窗结构及面板组件,属于电子元器件技术。本实用新型提供的一体化的观察窗结构,包括支撑座、连接杆和按键,支撑座的外端面具有窗口本体和贯穿槽;连接杆位于贯穿槽内,连接杆的一端与贯穿槽的内壁相连;按键位于贯穿槽内,与连接杆的另一端相连。本实用新型提供的面板组件包括上述观察窗结构及前面板,前面板与观察窗结构相连,且与支撑座的外端面接触,前面板上设有观察窗容纳孔及第一通孔,观察窗容纳孔与观察窗相对,按键的按压端插入第一通孔。本实用新型观察窗结构及面板组件通过改进结构,实现了按键与窗口本体、支撑座一体化成型,观察窗结构可作为整体零件与前面板相连,提高了安装效率。


