授权公布号:CN218200381U
一种具有防护功能的奶制品生产线用传输装置
有效
申请
2021-12-25
申请公布
1970-01-01
授权
2023-01-03
预估到期
2031-12-25
| 申请号 | CN202123325299.2 |
| 申请日 | 2021-12-25 |
| 授权公布号 | CN218200381U |
| 授权公告日 | 2023-01-03 |
| 分类号 | B65G15/60;B65G21/20;B65B35/44 |
| 分类 | 输送;包装;贮存;搬运薄的或细丝状材料; |
| 申请人名称 | 广东燕塘乳业股份有限公司 |
| 申请人地址 | 广东省广州市黄埔区香荔路188号(一照多址) |
专利法律状态
2023-01-03
授权
状态信息
授权
摘要
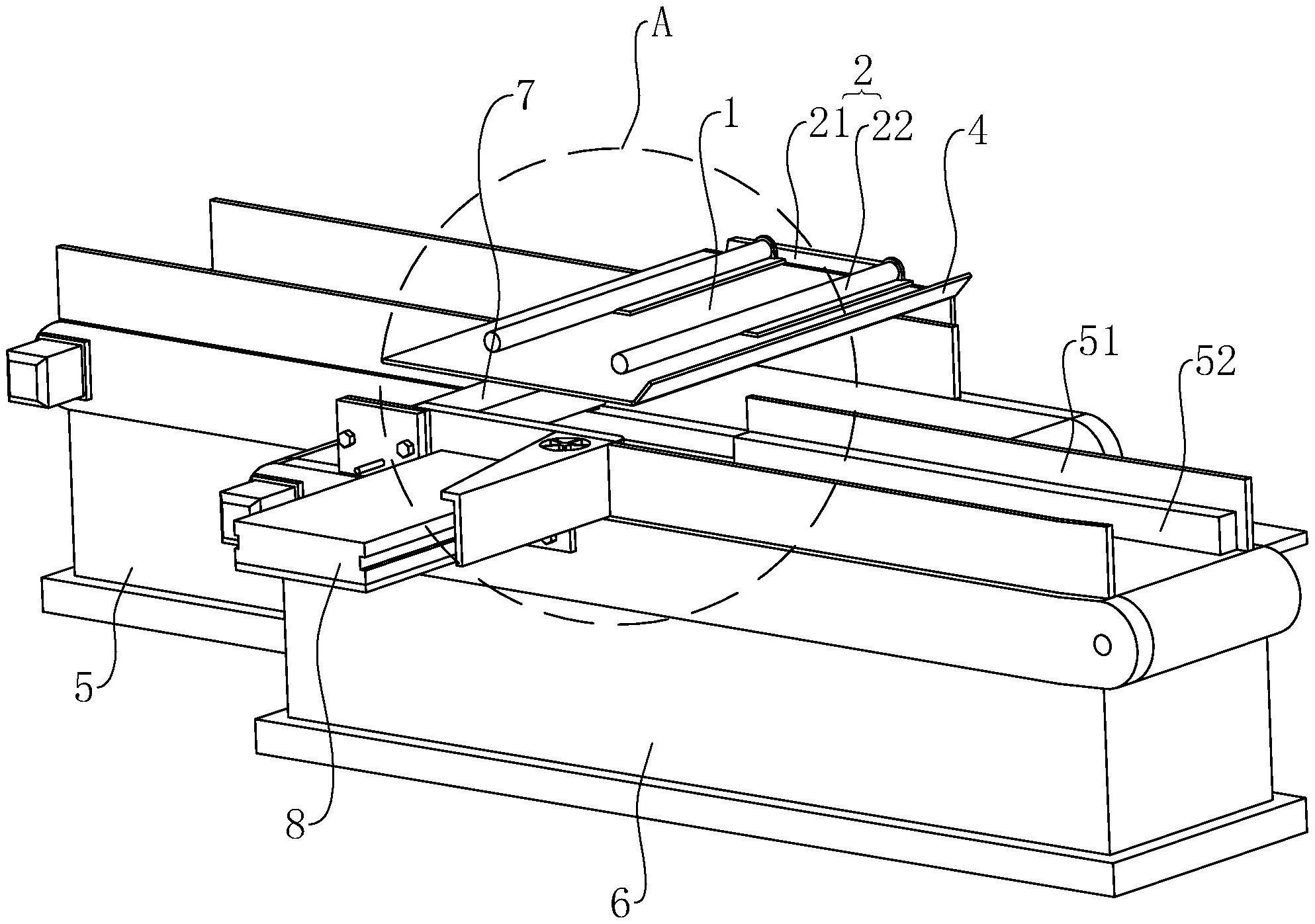
本申请涉及奶制品生产线的领域,尤其是涉及一种具有防护功能的奶制品生产线用传输装置及包含该防护装置的传输装置。其包括输入传送带、输出传送带、校准对齐件和推动件,输入传送带与输出传送带之间存在换道区,校准对齐件设置在输出传送带上,推动件设置在输出传送带一侧,推动件用于推动产品在换道区处从输出传送带移动至输入传送带;传输装置还包括安装组件和压板,安装组件设置在输入传送带上,压板与安装组件连接,压板位于换道区上方,压板用于与产品顶部抵接。本申请具有提高产品进入输入传送带的位置准确度的效果。


