授权公布号:CN217646285U
一种纸尿裤生产用原料混合装置
有效
申请
2022-05-10
申请公布
1970-01-01
授权
2022-10-25
预估到期
2032-05-10
| 申请号 | CN202221108413.8 |
| 申请日 | 2022-05-10 |
| 授权公布号 | CN217646285U |
| 授权公告日 | 2022-10-25 |
| 分类号 | B01F29/83 |
| 分类 | 一般的物理或化学的方法或装置; |
| 申请人名称 | 美佳爽(中国)有限公司 |
| 申请人地址 | 福建省泉州市石狮市鸿山镇高新区五金印刷基地鑫强路1号 |
专利法律状态
2022-10-25
授权
状态信息
授权
摘要
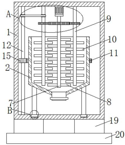
本实用新型公开了一种纸尿裤生产用原料混合装置,包括安装架,安装架内设置有混合箱,混合箱的上方设置有传动机构,混合箱内设置有第一搅拌轴,第一搅拌轴的外壁两侧均固定连接有多组等距分布的第一搅拌叶,第一搅拌轴的两侧均设置有第二搅拌轴,将原料加入混合箱内,电机的输出轴转动带动第一搅拌轴转动进而带动第一搅拌叶转动,同时第一搅拌轴转动带动第二齿轮转动进而带动第二搅拌叶转动,使得第一搅拌叶与第二搅拌叶同时对原料进行搅拌混合,同时第二搅拌轴转动带动第三齿轮转动进而带动混合箱转动,使得混合箱内的原料也跟着转动,使得原料充分混合,从而提高混合效率,工作效率高,提高了生产效率,实用性高。


