授权公布号:CN217793600U
一种新型超薄芯体
有效
申请
2022-05-09
申请公布
1970-01-01
授权
2022-11-15
预估到期
2032-05-09
| 申请号 | CN202221105011.2 |
| 申请日 | 2022-05-09 |
| 授权公布号 | CN217793600U |
| 授权公告日 | 2022-11-15 |
| 分类号 | A61F13/53;A61F13/537 |
| 分类 | 医学或兽医学;卫生学; |
| 申请人名称 | 美佳爽(中国)有限公司 |
| 申请人地址 | 福建省泉州市石狮市鸿山镇高新区五金印刷基地鑫强路1号 |
专利法律状态
2022-11-15
授权
状态信息
授权
摘要
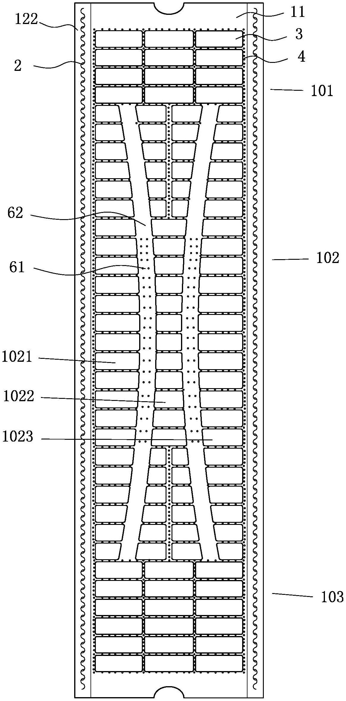
本实用新型涉及一次性卫生用品领域,尤其涉及一种吸收量大且厚度薄的新型超薄芯体,包括芯体本体,定义沿芯体本体的长度方向延伸为纵向方向,沿其宽度方向延伸为横向方向,所述芯体本体包括面层、底层以及分布于面层和底层之间的高分子吸水树脂材料,所述芯体本体上具有若干个相互分离的吸收单元,所述吸收单元的周侧设有第一连接线,通过第一连接线将面层与底层固定连接,使得面层与底层之间形成一容腔,所述高分子吸水树脂材料填充于所述容腔内,所述芯体本体的中部设有导流槽,所述导流槽具有位于纵向中部的压合区以及位于纵向两端的粘合区。


