授权公布号:CN218180259U
一种用于安全座椅的检测设备
有效
申请
2022-04-13
申请公布
1970-01-01
授权
2022-12-30
预估到期
2032-04-13
| 申请号 | CN202220847694.2 |
| 申请日 | 2022-04-13 |
| 授权公布号 | CN218180259U |
| 授权公告日 | 2022-12-30 |
| 分类号 | G01M13/00 |
| 分类 | 测量;测试; |
| 申请人名称 | 宁波惠尔顿婴童安全科技股份有限公司 |
| 申请人地址 | 浙江省宁波市江北区皇吉浦路276号 |
专利法律状态
2022-12-30
授权
状态信息
授权
摘要
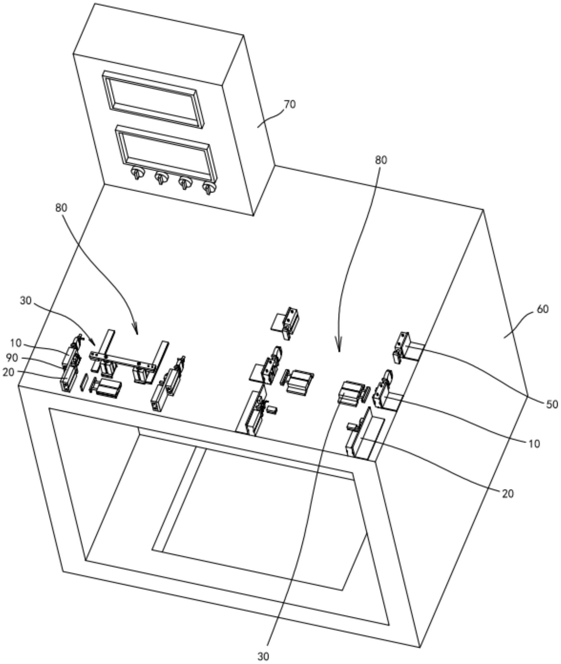
本实用新型公开了一种用于安全座椅的检测设备,包括:设备机柜,所述设备机柜的上表面设置有多个安装工位;每一所述安装工位上至少设置有定位机构,所述定位机构用于安装定位安全座椅锁扣;每一所述安装工位上至少设置有解锁机构,所述解锁机构包括解锁驱动部件以及解锁工作头,所述解锁工作头与所述解锁驱动部件连接,所述解锁驱动部件用于驱动所述解锁工作头活动以到达第一位置以及第二位置,所述解锁工作头处于第一位置状态下,所述解锁工作头能够与所述安全座椅锁扣的解锁按钮接触,所述解锁工作头处于第二位置的状态下,所述解锁工作头与所述安全座椅锁扣的解锁按钮相对分离。本实用新型可以提升安全座椅锁扣的安全性能。


