授权公布号:CN215971417U
一种车辆座椅安全带出口罩壳
有效
申请
2021-07-29
申请公布
1970-01-01
授权
2022-03-08
预估到期
2031-07-29
| 申请号 | CN202121748891.0 |
| 申请日 | 2021-07-29 |
| 授权公布号 | CN215971417U |
| 授权公告日 | 2022-03-08 |
| 分类号 | B60R22/26 |
| 分类 | 一般车辆; |
| 申请人名称 | 上海路途乐科技有限公司 |
| 申请人地址 | 上海市闵行区沪松公路450号2层 |
专利法律状态
2022-03-08
授权
状态信息
授权
摘要
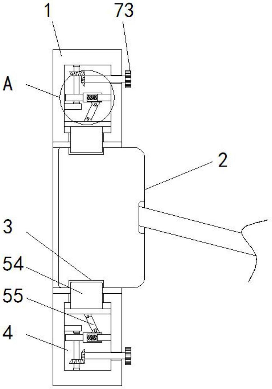
本实用新型涉及汽车技术领域,且公开了一种车辆座椅安全带出口罩壳,包括框体,所述框体内部设置有延伸至其右侧的安装壳,所述安装壳位于框体内部一端上下两侧均设置有卡合槽,所述框体内部且位于安装壳上下两端均设置有空腔。该车辆座椅安全带出口罩壳,使用者旋转转动轮使活动杆旋转进而使第二锥齿轮转动,第二锥齿轮带动第一锥齿轮转动进而使转杆旋转,转杆带动凸轮偏转挤压移动框右移,移动框右移带动连接杆偏转,从而连接杆使上下两个卡合块相背移动与卡合槽分离,即可方便取下安装壳,同理,松开转动轮,弹簧推动移动框左移使上下两个卡合块相对移动与卡合槽卡合,方便固定安装安装壳,实现了方便拆卸与安装目的。


